一般信息
注意
我們盡一切努力提供準確、及時的信息。 使用此文
檔,即表示您同意 Perkins Engines Company Limited
對其中的錯誤和疏漏不承擔任何責任。
注意
這些建議隨時可能改變,恕不另行通知。 請與本地
Perkins 經銷商聯系以獲得最新建議。
柴油要求
Perkins 不負責持續評估和監測全球各地區政府和技
術協會發布的餾出柴油技術規格。
Perkins 餾出柴油技術規格提供已知的可靠基準,以
便對由常規能源制成的餾出柴油的預估性能進行評
判。
令人滿意的發動機性能取決于使用的優質燃油。 使用
優質燃油將可產生以下效果:發動機使用壽命長以及
可接受的廢氣排放水平。 燃油必須滿足表13 中所規
定的最低要求。
注意
腳注是 Perkins 餾出柴油技術規格表的關鍵部分。 請
閱讀全部腳注。
表 13
Perkins 餾出柴油技術規格(1)
特性
單位
要求
ASTM測試
D1319
D482
ISO測試
ISO3837
ISO6245
ISO4262
芳香族化合物
灰分
體積百分比
重量百分比
重量百分比
最高 35%
最高 0.01%
最高 0.35%
10% 的底部區域內的碳殘
D524
渣
十六烷值 (2)
-
最低 40?
D613/D6890
D2500
ISO5165
ISO3015
濁點
°C
濁點絕不能超過最低預期環
境溫度。
銅帶腐蝕
-
最高 3 號
D130
ISO2160
在 15 °C (59 °F) 下的密度
kg/m
3
最低 801,最高 876
無同等測試
ISO 3675ISO 12185
(3)
蒸餾
°C
10% @ 282 °C (539.6 °F)
D86
ISO3405
最大
90% @ 360 °C (680 °F) 最
大
閃點
°C
-
法定限度
D93
ISO2719
熱穩定性
在 150 °C (302 °F) 下老化
180 分鐘后,最低反射率為
80%
D6468
無同等測試
傾點
°C
6 °C (42.8 °F)最小低于環境 D97
ISO3016
溫度
(續)
This document has been printed from SPI2. NOT FOR RESALE

![]()
![]()
![]()
![]()
![]()
![]()
![]()
SCBU9075
45
保養章節
一般燃油資料
(表 13, 續)
硫 (1)
質量百分比
0.0015
D5453/D26222
D445
ISO 20846ISO 20884
運動粘度 (4)
mm
2
/s (cSt)
輸送到噴油泵的燃油粘度。
ISO3405
“最低 1.4/最高 4.5”
水和沉淀物
水
重量百分比
重量百分比
重量百分比
mg/100ml
mm
最高 0.1%
D1796
D1744
D473
ISO3734
無同等測試
ISO3735
ISO6246
最高 0.1%
沉淀物
最高 0.05%
膠質物和樹脂 (5)
最大 10 mg/100 mL
D381
在 60 °C (140 °F) 下經潤
最高 0.52
D6079
ISO12156-1
滑性修正后的磨痕直徑。
(6)
(1)
本技術規格包括對超低硫柴油 (ULSD) 的要求。 ULSD 的含硫量不超過 15 ppm (0.0015%)。 請參閱 ASTM D5453、ASTM D2622 或 ISO
20846、ISO 20884 測試方法。
(2)
(3)
(4)
建議使用高十六烷值的燃油以在高海拔地區或寒冷天氣中運行。
“根據標準表格,最小密度 801 kg / m3(千克/立方米)時的等效 API 重度為 45,最大密度 876 kg / m3
時為 30”。
燃油粘度的數值是燃油輸送到燃油噴射泵時的數值。 燃油還應達到最低粘度要求,并達到在 40 °C (104 °F) 條件下使用 ASTM D445 測試方
法或 ISO 3104 測試方法測得的最大粘度要求。 如果使用了低粘度的燃油,可能需對其進行冷卻,以便將噴油泵處的燃油粘度保持在不低于
“1.4 cSt”。 對于高粘度的燃油,可能需要在噴油泵處加裝燃油加熱器以便將粘度降到 “1.4 cSt”。
請遵循針對汽油(馬達)的測試條件和程序。
超低硫燃油需要考慮燃油潤滑性能。 要確定燃油潤滑性,請進行 ISO 12156-1 或 ASTM D6079 高頻往復移動式裝置 (HFRR) 測試。 如果燃
油潤滑性未滿足最低要求,請咨詢燃油供應商。 不要在未咨詢燃油供應商的情況下處理燃油。 某些添加劑是不兼容的。 這些添加劑可能導
致燃油系統出現故障。
(5)
(6)
Perkins 制造的發動機通過了美國環保署規定的燃油
認證。 Perkins 制造的發動機通過了相應管理機構規
定的燃油使用認證。 Perkins 不授權柴油發動機使用
其它任何燃油。
注:發動機用戶和操作員有責任使用 EPA 及其他相應
管理機構規定的燃油。
注意
使用不符合 Perkins 建議的燃油操作可導致以下影
響:起動困難、減少燃油濾清器使用壽命、燃燒不
良、噴油器沉積物、嚴重減少燃油系統的使用壽命、
燃燒室沉積物和減少發動機使用壽命。
注意
Perkins 404F-E22F 柴油發動機必須使用超低硫柴油
操作。 該燃油含硫量必須低于 15 PPM。 該燃油符合
美國環保署規定的排放法規的要求。
圖 27
g02157153
插圖 27 是標簽的演示,該標簽安裝在應用的燃油箱
的燃油加注口蓋旁邊。
表 14 中列出的燃油技術規格可發布用于所有 404F-
E22F 發動機。
表 14
404F-E22F 發動機的可接受燃油技術規格(1)
燃油技術規格
注釋
EN590
歐洲汽車柴油(DERV)
ASTM D975 等級 1D S15
ASTM D975 等級 2D S15
“北美輕餾出柴油含硫量低于 15 PPM”
“北美中餾產生的通用柴油含硫量低于 15 PPM”
JIS K2204
“日本柴油”必須符合 “潤滑性” 部分說明的要求。
BS 2869:2010 級 A2 或 EU 同等產品
“EU 非公路柴油。 用于 2011 的含硫量必須低于 10 PPM”
(1)
所有的燃油必須符合 Perkins 餾出柴油技術規格表中的技術規格。
This document has been printed from SPI2. NOT FOR RESALE


![]()
![]()
![]()
![]()
![]()

![]()
![]()
46
SCBU9075
保養章節
一般燃油資料
柴油特性
潤滑性
十六烷值
潤滑性指燃油防止泵磨損的能力。 油液的潤滑性描述
了油液降低承載表面之間摩擦的能力。 這種能力可減
少由于摩擦造成的損壞。 燃油的潤滑屬性關系到燃油
噴射系統的運作。 在頒布燃油含硫量限制之前,普遍
認為燃油的潤滑性是燃油粘度的一個函數。
高十六烷值的燃油點火延遲更短。 高十六烷值可提高
點火質量。 燃油的十六烷值由標準 CFR 發動機中燃
油的十六烷和七甲基壬烷配比得出。 請參閱 ISO
5165 以了解測試方法。
潤滑性對現用的超低含硫量燃油和低芳烴化石燃料特
別重要。 生產這些燃油是為了達到嚴苛的尾氣排放要
求。
當前柴油的期望十六烷值通常超過 45。 但是,有些
地區可能會出現 40 的十六烷值。 美國就是上述可能
出現低十六烷值的地區之一。 在普通起動條件下,要
求十六烷值最低達到 40。 高海拔或寒冷操作條件
下,推薦使用高十六烷值的燃油。
這些燃油的潤滑性不得超過 0.52 mm (0.0205 inch)
的磨痕直徑。 燃油潤滑性測試必須在 HFRR 上進
行,操作條件為 60 °C (140 °F)。 請參閱 ISO 12156-
1。
低十六烷值的燃油是冷起動故障的根本原因。
粘度
注意
使用合格燃油的燃油系統經 ISO 12156-1 測試,具有
高達 0.52 mm (0.0205 inch) 磨痕直徑的潤滑性。 磨
痕直徑高于 0.52 mm (0.0205 inch) 的燃油將導致使
用壽命減少,以及燃油系統過早故障。
粘度是對剪切或流動形成阻力的液體性質。 隨著溫度
升高,粘度將會降低。 對于普通的礦物燃油,粘度下
降符合對數關系。 通常涉及的是運動粘度。 運動粘
度為動態粘度與密度之商。 運動粘度一般通過標準溫
度下重力流量式粘度計的讀數確定。 請參閱 ISO
3104 以了解測試方法。
燃油添加劑可增強燃油的潤滑性。 有關需要使用燃油
添加劑的環境條件,請聯系您的燃油供應商。 您的燃
油供應商會針對添加劑的使用和恰當處理給出相關建
議。
燃油粘度很重要,因為燃油對燃油系統部件起著潤滑
劑的作用。 燃油必須達到足夠的粘度,以便在極冷和
極熱的溫度條件下潤滑燃油系統。 如果噴油泵處的燃
油運動粘度低于 “1.4 cSt”,則可能會損壞噴油泵。 這
種損壞可能包括過度刮擦和卡塞。 低粘度可能會導致
難以熱重新起動、失速和性能下降。 高粘度可能會導
致泵卡塞。
蒸餾
蒸餾表示燃油中不同碳氫化合物的混合比例。 高比例
的輕質碳氫化合物會影響燃燒性能。
Perkins 建議輸送到噴油泵的燃油運動粘度為 1.4 到
4.5 mm2/sec。 如果使用了低粘度的燃油,可能需對
其進行冷卻,以便將噴油泵處的燃油粘度保持在不低
于 1.4 cSt。 對于高粘度的燃油,可能需要在噴油泵
處加裝燃油加熱器以便將粘度降到 4.5 cSt。
生物柴油和使用 B20 的建議
生物柴油是一種可定義為脂肪酸單烷基酯的燃油。 生
物柴油可使用各種原料制成。 歐洲最常見的生物柴油
是菜籽油甲酯 (RME)。 這種生物柴油使用菜籽油制
成。 大豆油甲酯 (SME) 是美國最常見的生物柴油。
這種生物柴油使用大豆油制成。 主要原料是大豆油或
菜籽油。 這些燃油都稱為脂肪酸甲酯 (FAME)。
密度
密度是特定溫度下單位體積的燃油質量。 此參數對發
動機的性能和排放都會產生直接影響。 該類影響決定
了燃油噴射量的熱輸出。 此參數在 15 °C (59 °F) 下
任何濃度的生植物油都不能作為燃油用于壓縮發動
機。 若不經過酯化作用,這些生物柴油會凝膠在曲軸
箱和燃油箱中。 這些燃油可能與如今生產的發動機中
使用的許多人造橡膠部件不兼容。 這些植物油的原形
不適合用在壓縮發動機中作為燃油。 生物柴油的替代
原料包括動物油脂、廢食用油和各種其它原料。 為了
將列出的各種產品用作燃油,這些油類必須酯化。
在以下 kg/m 中引出。
3
Perkins 建議使用密度為 841 kg/m
3
的燃油以獲得正確
的功率輸出。 更輕的燃油可以接受,但是那些燃油的
輸出達不到額定功率。
硫
由 100% FAME 制成的燃油一般稱為 B100 生物柴油
或純生物柴油。
含硫量水平通過排放法規管理。 地區法規、全國法規
或國際法規可能會要求燃油達到特定的含硫量限制。
燃油的含硫量和燃油質量必須符合現有的當地排放法
規。
生物柴油可以與餾出柴油燃料混合使用。 這種混合物
可作為燃油使用。 最常用的混合生物柴油是由 5% 的
生物柴油和 95% 的餾出柴油混合而成的 B5。 B20,
由 20% 的生物柴油和 80% 的餾出柴油混合而成。
Perkins 404F-E22F 柴油發動機的設計僅可以使用
ULSD。 使用 ASTM D5453、ASTM D2622 或 ISO
20846 ISO 20884 測試方法時, ULSD 燃油含硫量必
須低于 15 PPM (mg/kg) 或 0.0015%。
注:上述百分比是容積百分比。
美國 餾出柴油技術參數 ASTM D975-09a 包括最高為
B5 (5%) 的生物柴油。
注意
這些發動機使用高于 15 PPM 硫限制的柴油時,會損
傷或永久性損壞排放控制系統和/或縮短維修周期。
歐洲餾出柴油技術規格 EN590:2010 包括最高為 B7
(7%)的生物柴油。
This document has been printed from SPI2. NOT FOR RESALE
![]()
![]()
![]()
![]()
![]()
SCBU9075
47
保養章節
一般燃油資料
注:Perkins 制造的發動機通過了美國環保署 (EPA) 和
歐洲認證體系規定的燃油使用認證。 Perkins 不授權
發動機使用其它任何燃油。 發動機用戶負責使用制造
商推薦并得到 EPA 及其它相應管理機構許可的正確燃
油。
注:Perkins T40-0012 燃油清潔劑對于清潔和預防沉
積物形成最為有效。 Perkins 柴油調節劑可提高生物
柴油和混合生物柴油的穩定性,有助于限制沉積物的
形成。 關于更多信息,請參閱 “Perkins 柴油系統清潔
劑, and Perkins”。
含金屬雜質(鈉、鉀、鈣和/或鎂)的生物柴油在柴油
發動機內燃燒時會形成灰分產物。 灰分可能會影響后
處理排放控制設備的使用壽命和性能并造成 DPF 的
積累。 灰分的積累可能會導致灰分保養頻率加大和/
或性能降低。
技術規格要求
清潔的生物柴油必須符合最新的 EN14214 或 ASTM
D6751(在美國)。 生物柴油僅可與符合最新版的
EN590 或 ASTM D975 S15 指示的合格礦物柴油混
合,混合體積比達到 20%。
一般要求
在美國,B6 至 B20 混合生物柴油必須符合最新版
ASTM D7467 中所列的要求(B6 至 B20),并且
API 重度必須為 30-45。
生物柴油的氧化穩定性很差,因此生物柴油長期存儲
期間可能會出現問題。 生物柴油應當在生產后 6 個月
內使用。 如果設備存放超過 3 個月,燃油系統中不應
有 B20 混合生物柴油。
在北美,生物柴油和混合生物柴油必須從經過 BQ-
9000 認可的制造商和經過 BQ-9000 認證的經銷商購
買。
由于氧化穩定性差及其它潛在的問題,強烈建議發動
機在有限的運轉期內不使用 B20 混合生物柴油,或者
在可承擔一定風險的情況下限制使用等級最高為 B5
的混合生物柴油。 在以下應用示例中應限制使用生物
柴油:備用發電機組和某些急救車輛。
在世界其他地區,要求使用經過 BQ-9000 認可和認
證的生物柴油,或者使用經過同等生物柴油質量機構
認可和認證且符合類似生物柴油質量控制標準的生物
柴油。
Perkins 強烈建議季節性工作的發動機在長時間停機
之前使用常規柴油沖洗燃油系統,包括燃油箱。 例
如,聯合收割機應當季節性地沖洗燃油系統。
發動機的維修要求
生物柴油具有腐蝕性,可能會導致燃油箱和燃油管路
中產生碎屑。 生物柴油的腐蝕性將可清潔燃油箱和燃
油管路。 對燃油系統的這種清潔作用可能會使燃油濾
清器過早堵塞。 Perkins 建議在首次使用 B20 混合生
物柴油后,第 50 個小時必須更換燃油濾清器。
微生物污染和生長可能導致燃油系統腐蝕和燃油濾清
器過早堵塞。 請向供應商咨詢如何選擇適當的抗微生
物添加劑。
水會加快微生物的污染和生長。 與餾出燃油相比,生
物柴油中自然更容易存在水。 因此,務必經常檢查水
分離器,必要時進行排放。
生物柴油中存在的甘油酯也會導致燃油濾清器更快地
堵塞。 因此,定期保養周期應縮短為 250 小時。
黃銅、青銅、紅銅、鉛、錫和鋅會加速生物柴油的氧
化過程。 在氧化過程中可能會形成沉積物,因此燃油
箱和燃油管路不能使用這些材料。
使用生物柴油時,可能會影響曲軸箱機油和后處理系
統。 產生這種影響的原因是生物柴油的化學成分和特
性,例如密度和揮發性;以及此類燃油中可能含有的
化學雜質,例如堿和堿金屬(鈉、鉀、鈣和鎂)。
用于寒冷天氣運行的燃油
• 使用生物柴油或混合生物柴油時,曲軸箱機油的燃
油稀釋程度可能會更高。 使用生物柴油或混合生
物柴油時,燃油稀釋程度的升高與生物柴油在通常
情況下較低的揮發性有關。 許多業內最新的發動
機設計所采用的缸內排放控制策略可能會導致集油
槽中的生物柴油濃度升高。 曲軸箱機油中生物柴
油濃度的長期影響目前尚未知曉。
歐洲標準 EN590 包含與天氣有關的要求以及選擇范
圍。 這些選擇可分別應用于每個國家/地區。 有五類
屬于北極氣候和嚴冬氣候。 0、1、2、3 和 4。
在低至 −44 °C (−47.2 °F) 的溫度下,可使用符合
EN590 4 級的燃油。 請參閱 EN590 以了解燃油物理
性質的詳細判斷標準。
在美國使用的柴油 ASTM D975 1-D 可用于溫度低于
−18 °C (−0.4 °F) 的極寒環境。
• 如果使用生物柴油,Perkins 建議通過機油分析檢
查發動機機油的質量。 確保在采集油樣時記下燃
油中的生物柴油水平。
售后燃油添加劑
與性能相關的問題
通常不推薦使用補充性柴油添加劑。 因為該類添加劑
可能會損壞燃油系統或發動機。 燃油供應商或燃油制
造商會添加適當的補充性柴油添加劑。
由于含能量低于標準餾出燃油,B20 將會產生 2-4%
的功率損失。 此外,由于噴油器中逐漸發生沉積,功
率還會進一步降低。
Perkins 承認在有些特殊環境中需要使用添加劑。
已知生物柴油和混合生物柴油可導致燃油系統沉淀物
增加,其中噴油器中的沉淀物增加最為明顯。 這些沉
淀物會導致由于噴油受限或改變而產生能量損耗,或
者導致與這些沉淀物相關的其他功能問題。
注:部分防腐添加劑可導致噴油器結垢,該結垢可導致
噴油器工作不正常。
有關需要使用燃油添加劑的環境條件,請聯系您的燃
油供應商。 燃油供應商可能會為您推薦適當的添加劑
以及正確的處理用量。
This document has been printed from SPI2. NOT FOR RESALE
![]()
48
SCBU9075
保養章節
一般燃油資料
注:為了獲得最佳效果,燃油供應商應在必要時使用添
加劑處理燃油。 經過處理的燃油必須達到表 13 中所
述的要求。
Perkins 柴油系統清潔劑
Perkins T40-0012 燃油清潔劑是唯一一種由 Perkins
推薦的燃油清潔劑。
如果需要使用生物柴油或混合生物柴油,Perkins 要
求使用 Perkins 燃油清潔劑。 燃油的使用是為了清除
燃油系統中因使用生物柴油而形成的沉積物。 如需生
物柴油和混合生物柴油使用方面的詳細信息,請參閱
“生物柴油和使用 B20 的建議”。
Perkins 燃油清潔劑可清除燃油系統中因使用生物柴
油和混合生物柴油而形成的沉積物。 這些沉積物可能
會造成功率和發動機性能損失。
如果向燃油中加入燃油清潔劑,發動機運行 30 個小
時后即可清除燃油系統中的沉積物。 為了獲得最佳效
果,燃油清潔劑可一直使用到運行時間達到 80 個小
時。 Perkins 燃油清潔劑可連續使用,不會對發動機
或燃油系統的耐用性產生任何不利影響。
容器上詳細注明了強制性燃油清潔劑使用比率說明。
注:Perkins 燃油清潔劑與現有的和美國的兼容。 EPA
Tier 4 認證的非公路用柴油發動機排放控制催化劑和
顆粒濾清器相兼容。 Perkins 燃油系統清潔劑中含硫
量低于 15 ppm 且允許與 ULSD 燃油一同使用。
燃油清潔劑和 404F-E22 工業用發動
機
Perkins 建議必須在 3000 發動機工作小時時對柴油使
用 T40-0012 燃油清潔劑。 使用 T40-0012 燃油清
潔劑將清除堆積的沉積物,并保持發動機功率輸出。
由于地區燃油差異和不同的使用周期,可能會在更短
的時期內堆積沉積物。 如果發現功率降低,Perkins
建議根據需要使用清潔劑。
This document has been printed from SPI2. NOT FOR RESALE
![]()
SCBU9075
49
保養章節
保養建議
保養建議
不要松開高壓燃油管來排出燃油系統的空氣。
發動機機油
i06043762
釋放系統壓力
為釋放潤滑系統的壓力,需關停發動機。
i06565662
在配備電子控制裝置的發動機上
進行焊接
冷卻液系統
有壓力的系統: 熱的冷卻液能造成嚴重的燙傷。 為了
打開蓋子,要停機,等候散熱器冷下來。 然后慢慢松
開蓋子,釋放壓力。
注意
注意:由于機架的強度可能會降低,一些制造廠商建
議不要在底盤架或橫梁上進行焊接。 有關底盤架或橫
梁上焊接的問題,請咨詢原始設備制造商(OEM)或
您的 Perkins 代理商。
發動機可能具有自動起動能力。 執行任何維護或修理
前,確保電源隔離。
為釋放冷卻系統的壓力,需關停發動機。 讓冷卻系統
壓力蓋冷卻下來。 慢慢取下冷卻系統壓力蓋,以便釋
放壓力。
正確的焊接程序是必要的,這樣可以避免損壞發動機
ECM、傳感器和相關部件。 如果可能,從裝置上拆下
部件,然后再焊接部件。 如果不可能拆卸某個部件,
當焊接電控發動機上的裝置時必須按下面步驟進行操
作。 以下程序被認為是在部件上進行焊接的最安全的
程序。 該程序應具有電控部件損壞的最小風險。
燃油系統
為釋放燃氣系統的壓力,關閉機器。
注意
不要將電焊機的地線接至電氣部件如電子控制模塊
(ECM)或傳感器上。 不正確的接地方式能對傳動系軸
承、液壓元件、電氣部件和其它部件造成損壞。
高壓燃油管
用焊接機的地線夾子夾住要焊接的組件。 盡可能將夾
子置于焊接點附近。 這將有助于減少損壞的可能性。
接觸高壓燃油可能導致液體滲透和燒傷危險。 高壓燃
油溢出可能會產生火災。 如果不遵循檢查、保養和維
修指南,可能會造成人身傷亡。
注:在沒有爆炸危險的區域來進行焊接作業。
高壓燃油管是指高壓燃油泵與高壓燃油歧管之間以及
燃油歧管與缸蓋之間的燃油管路。 這些燃油管與其它
燃油系統上的燃油管不同。
1. 停止發動機。 把開關控制的電源轉到 OFF(關
閉)位置。
這是由于下述差異情況造成的:
2. 確保關斷通往發動機的燃料供應。
• 高壓燃油管始終充滿高壓。
3. 從蓄電池上斷開蓄電池負極電纜。 如果提供了蓄電
池切斷開關,打開開關。
• 高壓燃油管的內部壓力比其他類型的燃油系統要
高。
4. 從導線線束上斷開所有電氣部件。 包括下列部件:
在發動機燃油管上執行任何維修或修理之前,需執行
以下任務:
• 從動設備的電氣部件
• ECM
1. 停止發動機。
2. 等待 10 分鐘。
• 傳感器
• 電動燃油泵
• 電子控制閥門
• 繼電器
注意
切勿將電氣零部件(電子控制模塊或電子控制模塊傳
感器)或電子零部件的接地點用作電焊機的接地點。
This document has been printed from SPI2. NOT FOR RESALE
![]()
![]()
![]()
![]()
![]()
![]()
![]()
![]()
![]()
![]()
![]()
50
SCBU9075
保養章節
惡劣工作條件
i06245648
惡劣工作條件
惡劣作業是指發動機的應用超出這臺發動機發布的現
行標準。 Perkins 維護以下發動機參數的標準:
• 功率范圍、轉速范圍和油耗等性能指標
• 燃油質量
• 工作海拔高度
• 保養周期
• 機油選擇和保養
• 冷卻液類型和保養
• 環境質量
• 安裝
• 發動機內的油液溫度
請參閱發動機的標準或咨詢您的 Perkins 代理商或
Perkins 分銷商,以便確定發動機是否在規定參數范
圍內運轉。
惡劣作業運行可能加速部件磨損。 在惡劣作業條件下
運行的發動機可能需要更為頻繁的保養周期,以便確
保最大限度的可靠性和保持發動機的全額使用壽命。
圖 28
g01075639
使用上面示例。 從焊機到焊機接地夾的電流不會損壞
任何相關部件。
由于單個發動機的應用不同,不可能把所有可能導致
惡劣作業運行的促成因數確定下來。 請咨詢您的
Perkins 代理商或 Perkins 分銷商如何對發動機必要的
專用保養。
(1) 發動機
(2) 焊條
(3) 鑰匙開關處于 OFF(斷開)位置。
(4) 蓄電池切斷開關處于打開位置
(5) 已斷開的蓄電池電纜
(6) 蓄電池
工作環境、不適當的操作程序和不正確的保養程序都
可能導致惡劣作業運行。
(7) 電氣/電子部件
(8) 焊接的部件與任何電氣/電子部件之間的最小距離
(9) 要焊接的部件
環境因素
(10) 電焊機的電流通路
(11) 電焊機接地卡箍
環境溫度 – 發動機可能在極冷或極熱環境下長時間運
行。 如果發動機在非常寒冷的溫度下頻繁起動和停
機,氣門部件可能因積碳而損壞。 極熱的進氣會降低
發動機性能。
5. 將焊接接地電纜直接連接到要焊接的部件上。 將接
地電纜盡可能靠近焊縫放置,以便降低焊接電流對
下列部件造成損壞的可能性。 軸承、液壓部件、電
氣部件和接地電纜帶。
空氣質量 – 發動機可能會長時間曝露于骯臟或多塵環
境,除非設備得到定期清潔。 泥漿、污垢和灰塵可能
包裹部件。 保養可能非常困難。 堆積物可能含有腐
蝕性化學品。
注:如果電氣/電子部件用作焊機接地,或電氣/電子部
件位于焊機接地與焊接點之間,則來自焊機的電流就
會嚴重損壞該部件。
沉積 – 化合物、元素、腐蝕性化學制品和鹽可能會損
壞某些部件。
海拔高度 – 發動機在超過為其應用而預先設定的海拔
高度運行時可能會出現問題。 應該進行必要的調整。
6. 保護導線線束,避免因焊接碎屑和焊濺物損壞。
7. 采用標準焊接規程進行焊接。
不正確的操作程序
• 長時間在低怠速運行
• 頻繁熱停機
• 過負荷運行
This document has been printed from SPI2. NOT FOR RESALE
![]()

![]()
![]()
SCBU9075
51
保養章節
惡劣工作條件
• 過速運行
• 在預期應用范圍之外運行
不正確的保養程序
• 延長保養周期
• 不使用推薦的燃油、潤滑劑和冷卻液/防凍液
This document has been printed from SPI2. NOT FOR RESALE
![]()
52
SCBU9075
保養章節
保養周期表
i06565645
渦輪增壓器 - 檢查. . . . . . . . . . . . . . . . . . . . . . . . . . . 70
保養周期表
每隔 1500 工作小時的保養
曲軸箱呼吸器(濾罐) - 更換 . . . . . . . . . . . . . . . . . 58
需要時即進行的保養
每2000工作小時
蓄電池 - 更換 . . . . . . . . . . . . . . . . . . . . . . . . . . . . . . 53
蓄電池或蓄電池電纜 - 斷開 . . . . . . . . . . . . . . . . . . . 54
發動機 - 清潔 . . . . . . . . . . . . . . . . . . . . . . . . . . . . . . 59
燃油系統 - 充油. . . . . . . . . . . . . . . . . . . . . . . . . . . . . 64
交流發電機 - 檢查 . . . . . . . . . . . . . . . . . . . . . . . . . . 53
發動機安裝支座 - 檢查 . . . . . . . . . . . . . . . . . . . . . . . 61
起動馬達 - 檢查. . . . . . . . . . . . . . . . . . . . . . . . . . . . . 70
每3000個工作小時
每天的保養
冷卻液溫度調節器 - 更換 . . . . . . . . . . . . . . . . . . . . . 58
排氣再循環閥 - 清潔. . . . . . . . . . . . . . . . . . . . . . . . . 63
水泵 - 檢查 . . . . . . . . . . . . . . . . . . . . . . . . . . . . . . . . 71
冷卻液液位 - 檢查. . . . . . . . . . . . . . . . . . . . . . . . . . . 58
發動機空氣濾清器保養指示器 - 檢查 . . . . . . . . . . . 60
發動機空氣預濾器 - 檢查/清潔. . . . . . . . . . . . . . . . . 61
發動機機油油位 - 檢查 . . . . . . . . . . . . . . . . . . . . . . . 61
燃油系統粗濾器/油水分離器 - 放水 . . . . . . . . . . . . . 66
燃油系統細濾器/油水分離器 - 放水 . . . . . . . . . . . . . 68
圍繞檢查 . . . . . . . . . . . . . . . . . . . . . . . . . . . . . . . . . . 70
每3000個工作小時或每2年
冷卻液 (DEAC) - 更換 . . . . . . . . . . . . . . . . . . . . . . . 55
每4000工作小時
后冷器芯 - 檢查. . . . . . . . . . . . . . . . . . . . . . . . . . . . . 53
每50個工作小時或 每周 一次的保養
每6000個工作小時或3年
燃油箱中的水和沉渣 - 排放 . . . . . . . . . . . . . . . . . . . 68
冷卻液延長劑(ELC)- 添加. . . . . . . . . . . . . . . . . . 57
每500個工作小時的保養
每12000個工作小時數或每6年的保養
皮帶 - 檢查/調整 . . . . . . . . . . . . . . . . . . . . . . . . . . . . 54
發動機空氣濾清器濾芯-更換 . . . . . . . . . . . . . . . . . 60
風扇間隙 - 檢查. . . . . . . . . . . . . . . . . . . . . . . . . . . . . 64
冷卻液(ELC)- 更換 . . . . . . . . . . . . . . . . . . . . . . . 56
試運轉
風扇間隙 - 檢查. . . . . . . . . . . . . . . . . . . . . . . . . . . . . 64
每500個工作小時或1年
蓄電池電解液液位 - 檢查 . . . . . . . . . . . . . . . . . . . . . 54
發動機機油和濾清器 - 更換 . . . . . . . . . . . . . . . . . . . 61
燃油系統粗濾器(油水分離器)濾芯 - 更換 . . . . . . . . 65
燃油系統細濾清器 - 更換 . . . . . . . . . . . . . . . . . . . . . 67
軟管和卡箍 - 檢查/更換 . . . . . . . . . . . . . . . . . . . . . . 69
散熱器 - 清潔 . . . . . . . . . . . . . . . . . . . . . . . . . . . . . . 69
每1000工作小時
交流發電機和風扇皮帶 - 更換 . . . . . . . . . . . . . . . . . 53
發動機氣門間隙-檢查. . . . . . . . . . . . . . . . . . . . . . . 63
This document has been printed from SPI2. NOT FOR RESALE
![]()
SCBU9075
53
保養章節
后冷器芯 - 檢查
i03826059
i03018688
后冷器芯 - 檢查
交流發電機和風扇皮帶 - 更換
注:根據作業環境影響的情況調整清潔工作的頻率。
就下列項目檢查后冷器: 損壞的散熱片, 腐蝕, 污垢,
油脂, 昆蟲, 樹葉, 機油 和 其他碎屑. 必要時清潔后冷
器。
對于空對空后冷器,清潔方法與散熱器相同。
高壓空氣會造成人身傷害。
不按下面的適當步驟進行操作會造成人身傷害。 使用
壓縮空氣時,戴防護面罩及穿防護服。
用做清洗用途時,噴嘴處最大空氣壓力必須低于
205 kPa (30 psi) 。
清潔后,起動發動機并將發動機加速至高怠速。 這有
助于清除碎屑和干燥芯子。 停止發動機。 在芯子的
后方放置一個燈泡可檢查芯子是否清潔。 必要時重復
清潔步驟。
檢查葉片有無損壞。 彎曲的葉片可用“梳刀”梳開。
圖 29
g01091158
注:如果修理或更換了后冷器的零件,高度推薦進行滲
漏測試。
典型示例
(1) 調整螺栓
(2) 安裝螺栓
檢查以下零部件是否處于良好狀態: 焊接件, 安裝支
架, 空氣管路, 連接處, 卡箍 和 密封件. 必要時進行修
理。
對于需要多根傳動皮帶的應用,要更換相配的整組傳
動皮帶。 只更換一組中的一條皮帶,由于舊皮帶已被
拉伸,會使新皮帶承受更多的負載。 額外負荷就會加
到新皮帶上,從而造成皮帶斷裂。
i04651969
交流發電機 - 檢查
注:當安裝了新皮帶時,在發動機運轉 20 小時后要再
次檢查皮帶的張緊度。
有關皮帶的安裝和拆卸步驟,請參閱解體和組裝手
冊。
珀金斯建議定期檢查交流發電機。檢查交流發電機接
頭是否松動以及蓄電池是否正常充電。 在發動機運轉
過程中,檢查電流表(如有配備),以確保蓄電池和/
或電氣系統正常的工作性能。 根據需要進行修理。
i03018721
蓄電池 - 更換
檢查交流發電機和蓄電池充電是否正常工作。如果蓄
電池充電正常,電流表讀數應該幾乎為零。 所有蓄電
池都應保持充電狀態。 蓄電池應保暖,因為溫度會影
響盤車功率。 如果蓄電池太冷,蓄電池將無法盤機。
當發動機長時間不運轉或只是短時間運轉時,蓄電池
可能未充足電。 充電低的蓄電池比充足電的蓄電池更
容易凍結。
蓄電池釋放出可能會爆炸的可燃氣體。 火花可能引起
此可燃氣被點燃。 由此可能導致人身傷亡。
確保置于密閉處的蓄電池的適當通風。 遵循正確程序
以便幫助防止在蓄電池周圍產生電弧和 /或火花。 在
維護蓄電池時不要吸煙。
This document has been printed from SPI2. NOT FOR RESALE
![]()
![]()
![]()
![]()

![]()
![]()
![]()
54
SCBU9075
保養章節
蓄電池電解液液位 - 檢查
用以下清潔劑清洗蓄電池殼:
• 使用 0.1 kg (0.2 lb)碳酸氫鈉與 1 L (1 qt) 清水
的溶液。
在拆卸蓄電池電纜或蓄電池之前,應先拆下蓄電池
蓋。 進行任何維護之前,應先拆下蓄電池蓋。
未拆下蓄電池蓋的情況下就拆卸蓄電池電纜或蓄電池
可能會引發爆炸,導致人身傷害。
• 使用氫氧化銨溶液。
用清潔水徹底沖洗蓄電池殼。
1. 把發動機起動開關轉動斷開 (OFF)位置。 卸掉所有
電氣負載。
i03840677
蓄電池或蓄電池電纜 - 斷開
2. 關掉所有蓄電池充電器。 斷開所有蓄電池充電器。
3. 用負極 “-” 電纜把蓄電池的負極 “-” 端子與起動馬達
的負極 “-” 端子連接起來。從蓄電池的負極 “-” 端子
斷開電纜。
4. 正極 “+” 電纜把蓄電池的正極 “+” 端子與起動馬達
的正極 “+” 端子連接起來。 從蓄電池的正極 “+” 端
子斷開電纜。
在拆卸蓄電池電纜或蓄電池之前,應先拆下蓄電池
蓋。 進行任何維護之前,應先拆下蓄電池蓋。
未拆下蓄電池蓋的情況下就拆卸蓄電池電纜或蓄電池
可能會引發爆炸,導致人身傷害。
注:一定要回收蓄電池。 決不要廢棄蓄電池。 把廢舊
蓄電池送到適當的回收工廠。
1. 將起動開關轉到斷開 (OFF)位置。 把點火開關(如
有配備)轉到斷開 (OFF)位置,取下鑰匙和關掉所
有電氣負載。
5. 拆下廢舊蓄電池。
6. 安裝新蓄電池。
2. 斷開蓄電池負極端子。 確保電纜無法與端子接觸。
當使用 4 個 12 伏蓄電池時,必須斷開兩個負極連
接。
注:安裝電纜之前,確保發動機起動開關在停機(OFF)
位置。
7. 把來自起動馬達正極端子的電纜連接到蓄電池的正
極 “+” 端子。
3. 斷開正極連接。
4. 清潔所有斷開的接頭和蓄電池端子。
8. 將蓄電池負極 “-” 電纜連接到蓄電池負極 “-” 端子
上。
5. 用細砂紙清理端子和電纜卡箍。 清潔這些項目,直
到其表面光亮為止。 不要過度去除材料。 過分地
去除材料可能會造成卡箍無法正常配合。使用合適
的硅油或凡士林涂沫卡箍和端子表面。
i03018722
蓄電池電解液液位 - 檢查
6. 為了防止意外起動,將電纜線頭用膠帶包上。
7. 進行必要的系統修理。
當發動機長時間不運轉或只是短時間運轉時,蓄電池
可能未充足電。 確保蓄電池充足電以防止蓄電池結
凍。 如果蓄電池經正確充電,發動機運轉時電流表讀
數應快接近零位。
8. 要連接蓄電池,需先連接正極接頭,然后再接負極
接頭。
i06565648
皮帶 - 檢查/調整
所有鉛酸蓄電池含有硫酸,硫酸能燒蝕皮膚和腐蝕衣
服。 對蓄電池作業或在其附近工作時,必須戴防護面
罩和穿防護服。
檢查
1. 拆下加注口蓋。 蓄電池的電解液位保持在蓄電池的
“滿 (FULL)” 標記位置。
為獲得發動機的最高性能,應檢查傳動皮帶是否磨損
和斷裂。 更換磨損或損壞的皮帶。
如果需要加水,要使用蒸餾水。 如果沒有蒸餾水,
可使用低礦物質的清潔水。 不要使用人工軟化水。
如果皮帶過松,將會由于振動造成不必要的皮帶和皮
帶輪磨損。 松動的皮帶打滑可能足以導致過熱。
2. 使用適當的蓄電池測試儀檢查電解液的狀況。
3. 安裝蓋。
新皮帶的正確張力是 400 N (90 lb) 至 489 N (110 lb)
。 操作 30 分鐘或以上的使用過的皮帶在額定轉速下
的正確張力是 267 N (60 lb) 至 356 N (80 lb)。
4. 保持蓄電池清潔。
This document has been printed from SPI2. NOT FOR RESALE
![]()
![]()
![]()
![]()
![]()
![]()
![]()
SCBU9075
55
保養章節
冷卻液 (DEAC) - 更換
應在皮帶輪之間皮帶的中心點檢查皮帶張力。
注意
對發動機冷卻系統進行任何保養或修理后,必須在水
平地面上對發動機執行此程序。 水平地面將允許您準
確檢查冷卻液液位。 此步驟也有助于避免冷卻系統中
出現氣穴。
調整
注:冷卻系統放水后,檢查水泵和水溫調節器。 該檢
查為在必要時更換水泵、水溫調節器和軟管提供了好
機會。
排放
加壓的系統: 熱的冷卻液能造成嚴重的燙傷。 在發
動機停機,等待冷卻系統部件冷卻下來后再打開冷卻
系統加注口蓋。 緩慢松開冷卻系統加注口蓋,以釋放
掉所有壓力。
1. 發動機停機,使發動機冷卻下來。 緩慢地松開冷卻
系統加注口蓋,以釋放掉所有壓力。 拆下冷卻系統
加注口蓋。
注:請參閱操作和保養手冊, 一般危險事項中關于盛裝
溢出液體的信息
圖 30
g03886616
典型示例
1. 松開螺栓 (1) ,然后松開螺栓 (3) 。
2. 松開螺母和螺栓 (4) 。
3. 移動交流發電機 (2) ,以便將皮帶 (4) 調整到所需
的張力。
4. 擰緊螺栓 (1) 和螺栓 (3) 至扭矩為 22 N·m
(194 lb in)。 擰緊螺母和螺栓 (4) 至扭矩為 22 N·m
(194 lb in)。
i06565675
冷卻液 (DEAC) - 更換
• DEAC
柴油發動機防凍劑/冷卻液
如果有以下情況發生,在推薦的保養周期之前,清潔
和沖刷冷卻系統:
圖 31
g03890108
• 發動機頻繁過熱。
典型示例
• 觀察到起泡沫。
2. 拆下發動機上的排放塞 (1) 。 打開排放旋塞或拆下
• 機油已進入冷卻系統,冷卻液被污染。
• 柴油已進入冷卻系統,冷卻液被污染。
散熱器上的排放螺塞。
將冷卻液排放到適當的容器中。
This document has been printed from SPI2. NOT FOR RESALE
![]()
![]()
![]()
![]()
![]()

![]()
![]()
![]()

![]()
![]()
56
SCBU9075
保養章節
冷卻液(ELC)- 更換
3. 正確地處理排放物。 遵照當地法規處理排放物。
4. 清洗冷卻系統加注口蓋。 檢查冷卻系統加注口蓋上
的墊圈。 如果冷卻系統加注口蓋上的墊圈損壞,廢
棄原來的冷卻系統加注口蓋并安裝新的加注口蓋。
如果冷卻系統加注口蓋上的墊圈未損壞,進行加壓
測試。 如果冷卻系統加注口蓋無法保持正確壓力,
安裝新的冷卻系統加注口蓋。
沖刷
1. 使用清潔的水和合適的清潔劑沖洗冷卻系統,以便
清除任何碎屑。 有關合適的清潔劑,請咨詢您的
Perkins 代理商或經銷商。
5. 起動發動機。 檢查冷卻系統是否泄漏以及工作溫度
2. 安裝連接軟管。 清潔排放塞。 安裝排放塞。 牢固
是否正常。
擰緊排放塞。
i06565666
注意
加 注 冷 卻 系 統 時, 速 度 不 要 快 于 每 分 鐘 5 L
(1.3 美制加侖),以避免發生氣阻。
冷卻液(ELC)- 更換
冷卻系統氣阻會損壞發動機。
注意
3. 向冷卻系統中加注清水,然后安裝冷卻系統加注口
蓋。
Perkins ELC 必須與延長劑一起使用,以實現 12000
小時工作時間。 有關合適的延長劑的更多信息,請聯
系您的 Perkins 經銷商。
4. 起動發動機,在低怠速運轉發動機至少 30 分鐘。
冷卻液溫度應至少為 82 °C (180 °F)。
如果有以下情況發生,在推薦的保養周期之前,清潔
和沖刷冷卻系統:
注意
不正確或不徹底沖洗冷卻系統,會損壞銅和其它金屬
部件。
• 發動機頻繁過熱。
• 觀察到起泡沫。
為了避免損壞冷卻系統,確保用清潔水徹底沖洗冷卻
系統。 連續沖洗系統,直到清洗劑的所有痕跡消失為
止。
• 機油已進入冷卻系統,冷卻液被污染。
• 柴油已進入冷卻系統,冷卻液被污染。
注:排放和更換長效冷卻液(ELC)后,清潔冷卻系統
時只需用凈水。
5. 發動機停機,使發動機冷卻下來。 緩慢地松開冷卻
系統加注口蓋,以釋放掉所有壓力。 拆下冷卻系統
加注口蓋。 拆下連接軟管或拆下冷卻系統排放塞。
使水放出。 用清潔的水沖洗冷卻系統。 安裝連接
軟管。 安裝所有排放塞,并牢固擰緊。
注:冷卻系統放水后,檢查水泵和水溫調節器。 必要
時更換水泵、水溫調節器和軟管。
注意
加注
發動機冷卻系統的保養和修理必須在地面上執行。 發
動機必須水平,以便檢查冷卻液液位。 發動機必須水
平,以避免在冷卻系統中引入氣鎖的危險。
注意
加 注 冷 卻 系 統 時, 速 度 不 要 快 于 每 分 鐘 5 L
(1.3 美制加侖),以避免發生氣阻。
排放
冷卻系統氣阻會損壞發動機。
1. 給冷卻系統加注冷卻液/防凍劑。 要了解更多冷卻
系統技術規范的信息,請參考操作和保養手冊, 加
注容量和建議專題(保養部分)。 尚不要安裝冷卻
系統加注口蓋。
加壓的系統: 熱的冷卻液能造成嚴重的燙傷。 在發
動機停機,等待冷卻系統部件冷卻下來后再打開冷卻
系統加注口蓋。 緩慢松開冷卻系統加注口蓋,以釋放
掉所有壓力。
2. 起動發動機并在低怠速下運轉。 提高發動機轉速至
高怠速。 操作發動機以便打開發動機節溫器。 此
操作將允許排出系統中的任何空氣。 將發動機轉速
降低到低怠速。 停止發動機。
1. 發動機停機,使發動機冷卻下來。 緩慢地松開冷卻
系統加注口蓋,以釋放掉所有壓力。 拆下冷卻系統
加注口蓋。
3. 使冷卻液的液位保持在您的應用對應的最大標記
處。
This document has been printed from SPI2. NOT FOR RESALE
![]()
![]()
![]()
![]()
![]()
![]()
![]()
![]()
![]()
![]()
![]()
![]()
![]()
SCBU9075
57
保養章節
冷卻液延長劑(ELC)- 添加
5. 發動機停機,使發動機冷卻下來。 緩慢地松開冷卻
系統加注口蓋,以釋放掉所有壓力。 拆下冷卻系統
加注口蓋。 拆下冷卻系統排放塞。 使水放出。 用
清潔的水沖洗冷卻系統。 安裝冷卻系統排放塞并牢
固擰緊。
加注
注意
加 注 冷 卻 系 統 時, 速 度 不 要 快 于 每 分 鐘 5 L
(1.3 美制加侖),以避免發生氣阻。
冷卻系統氣阻會損壞發動機。
1. 用長效冷卻液 (ELC)加注冷卻系統。 要了解更多冷
卻系統技術規格的信息,請參閱本操作和保養手冊,
加注容量專題(保養部分)。 尚不要安裝冷卻系統
加注口蓋。
2. 起動發動機并在低怠速下運轉。 提高發動機轉速至
高怠速。 操作發動機以便打開發動機節溫器。 節
溫器打開后,將可以排出系統中的所有空氣。 將發
動機轉速降低到低怠速。 停止發動機。
圖 32
g03890108
2. 拆下發動機上的排放塞 (1) 。 打開排放旋塞或拆下
散熱器上的排放螺塞。
3. 使冷卻液的液位保持在您的應用對應的最大標記
處。
使冷卻液放出。
有關用過冷卻液的處置和循環再利用的資料,請咨詢
您的 Perkins 代理商或 Perkins 經銷商。
4. 清洗冷卻系統加注口蓋。 檢查冷卻系統加注口蓋上
的墊圈。 如果冷卻系統加注口蓋上的墊圈損壞,廢
棄原來的冷卻系統加注口蓋并安裝新的加注口蓋。
如果冷卻系統加注口蓋上的密封墊未損壞,對冷卻
系統加注口蓋進行壓力測試。 冷卻系統加注口蓋的
正確壓力刻印在冷卻系統加注口蓋的表面。 如果冷
卻系統加注口蓋無法保持正確壓力,安裝新的冷卻
系統加注口蓋。
沖刷
1. 用蒸餾水或去離子水沖洗冷卻系統,以便去除任何
碎屑。
2. 安裝連接軟管。 清潔并安裝排放塞。 牢固擰緊排
放塞。
5. 起動發動機。 檢查冷卻系統是否滲漏或工作溫度是
否正常。
注意
加 注 冷 卻 系 統 時, 速 度 不 要 快 于 每 分 鐘 5 L
(1.3 美制加侖),以避免發生氣阻。
i06043731
冷卻系統氣阻會損壞發動機。
冷卻液延長劑(ELC)- 添加
3. 用蒸餾水或去離子水加注冷卻系統。 安裝冷卻系統
加注口蓋。
為確保 Perkins ELC 實現 12000 小時的運行,必須在
運行了 6000 小時后加配延長劑。 為獲得合適的延長
劑,請聯系的您的 Perkins 代理商或 Perkins 分銷
商。
4. 起動并在低怠速下運行發動機,直到溫度達到
49 to 66 °C (120 to 150 °F)。
This document has been printed from SPI2. NOT FOR RESALE
![]()
![]()
![]()
![]()
![]()

![]()
![]()
58
SCBU9075
保養章節
冷卻液液位 - 檢查
i06565647
i06565682
冷卻液液位 - 檢查
冷卻液溫度調節器 - 更換
在節溫器失效之前就更換掉。 建議使用該預防性保養
準則。 更換節溫器可減少可能發生的計劃外停工。
加壓的系統: 熱的冷卻液能造成嚴重的燙傷。 在發
動機停機,等待冷卻系統部件冷卻下來后再打開冷卻
系統加注口蓋。 緩慢松開冷卻系統加注口蓋,以釋放
掉所有壓力。
水溫調節器在部分開啟位置失效時,會引起發動機過
熱或過冷。
水溫調節器在完全關閉位置失效時,會引起發動機嚴
重過熱。 發動機嚴重過熱會引起氣缸蓋開裂或活塞卡
缸故障。
發動機停機并冷卻后檢查冷卻液液位。
水溫調節器在開啟位置失效時,會引起發動機在部分
負荷時工作溫度過低。 發動機部分負荷時工作溫度過
低會造成氣缸內過分積碳, 從而加速活塞環和缸套的
磨損。
注意
對發動機冷卻系統進行任何保養或修理后,必須在水
平地面上對發動機執行此程序。 此步驟將允許您準確
檢查冷卻液液位。 此步驟也有助于避免冷卻系統中出
現氣穴。
注意
不定期更換水溫調節器會引起發動機嚴重損壞。
1. 慢慢拆下冷卻系統加注口蓋,以釋放掉壓力。
Perkins 發動機采用分流式設計的冷卻系統,需要在
安裝有水溫調節器的情況下操作發動機。
2. 使冷卻液的液位保持在您的應用對應的最大標記
處。 如果發動機配備了觀察窗,使冷卻液的液位保
持在觀察窗中的正確位置。
如果水溫調節器安裝不正確,發動機可能過熱,造成
氣缸蓋損壞。 確保新的水溫調節器安裝在原來的位
置。 確保水溫調節器的放氣孔暢通。
不要在密封墊或缸蓋表面上使用液體墊片材料。
有關水溫調節器的更換步驟,請參閱拆解和裝配手冊,
水溫調節器 - 拆卸和安裝,或咨詢您的 Perkins 代理
商或 Perkins 經銷商。
注:如果只更換水溫調節器,泄放冷卻系統中的冷卻液
時,只需冷卻液的液位低于水溫調節器殼即可。
i06565691
曲軸箱呼吸器(濾罐) - 更換
熱油和熱的部件可能會導致人員受傷。 不要讓熱的油
和部件接觸皮膚。
注意
確保在進行任何維護和修理工作之前關閉發動機。
圖 33
g02590196
典型加注口蓋密封墊
曲軸箱呼吸器是用于保持發動機符合排放標準的重要
部件。
3. 清潔冷卻系統加注口蓋,檢查加注口蓋密封墊的狀
況。 如果加注口蓋密封墊損壞,更換冷卻系統加注
口蓋。 重新安裝冷卻系統加注口蓋。
• 必須按照規定的保養間隔保養曲軸箱呼吸器中的濾
清器濾芯。
4. 檢查冷卻系統有無泄漏。
• 操作發動機前,必須安裝正確的濾清器濾芯。
• 濾清器濾芯的安裝非常重要。
• 所安裝濾清器濾芯的質量非常重要。
This document has been printed from SPI2. NOT FOR RESALE
![]()
![]()
![]()
![]()
![]()
![]()
![]()
![]()
![]()
![]()

![]()
![]()
![]()
SCBU9075
59
保養章節
發動機 - 清潔
• 濾清器濾芯保護發動機防止過量機油進入進氣系
統。 濾清器濾芯還可保護發動機后處理系統。
注:過量機油進入發動機進氣系統可能使發動機轉速失
控快速增高。
圖 34
g03331718
典型示例
圖 35
g03331704
典型示例
1. 確保灰塵無法進入呼吸器組件。 確保呼吸器組件的
外體清潔,無損壞。 在呼吸器組件下放置一個容
器。
3. 拆下濾清器濾芯 (5) 和 O 形密封圈 (6) 并廢棄。
注:確保所有零件清潔無污物。
2. 拆下夾子 (3) ,然后將軟管 (4) 從蓋 (2) 上拆下。
將蓋 (2) 從主體 (1) 上拆下。
4. 將新的 O 形密封圈 (6) 安裝到蓋 (2) 上,然后將新
的濾清器濾芯 (5) 安裝到蓋 (2) 中。
5. 將蓋組件安裝到主體 (1) 中。 擰緊蓋組件至扭矩為
10 N·m (7 lb ft)。
6. 安裝軟管 (4) 和夾子 (3) 。 拆下容器,并清除任何
濺出的油液。
i06146266
發動機 - 清潔
高電壓能造成人身傷害或死亡。
潮濕可能產生導電回路。
保證電氣系統斷電。 鎖定起動控制裝置,在控制裝置
上系上 “不準起動” 的標簽。
This document has been printed from SPI2. NOT FOR RESALE
![]()
![]()

![]()
![]()

![]()
![]()
![]()
60
SCBU9075
保養章節
發動機空氣濾清器濾芯-更換
4. 確保端蓋 (1) 和閥 (2) 清潔,無污物。 安裝端蓋。
安裝時,確保閥 (2) 處于垂直向下位置。
注意
積聚在發動機上的潤滑脂和機油有失火危險。 保持發
動機清潔。 只要有相當數量的碎屑和濺溢的液體積聚
在發動機上,就要清除掉。
注:如有配備,必須檢查并復位空氣濾清器維修指示
燈。
建議進行發動機定期清潔。 蒸汽清潔發動機將去除積
聚的機油和潤滑脂。 清潔的發動機有以下好處:
i03018717
• 容易檢查到油液滲漏的地方
• 最大的熱傳遞特性
• 保養方便
發動機空氣濾清器保養指示器 -
檢查
注:清潔發動機時必須多加小心以便防止過多的水損壞
電氣部件。 高壓清洗機或蒸汽清潔器不得對準任何電
氣接頭或接頭后部連接電纜的接頭處。 避免洗及諸如
交流發電機、起動馬達和 ECM 等電氣部件。 確保噴
油泵遠離用于清洗發動機的液體。
某些發動機可能裝有與此不同的保養指示器。
某些發動機配備進氣壓力差壓表。 進氣壓力差壓表顯
示在空氣濾清器濾芯之前和之后測量的壓力之差。 空
氣濾清器濾芯變得骯臟時,壓差上升。 如果您的發動
機配備了不同種類的保養指示器,遵循原始設備制造
商 (OEM) 的建議,以便維護空氣濾清器的保養指示
器。
后處理
空氣濾清器保養指示器可能裝在空氣濾清器上或在較
遠的地方。
發動機清潔過程中,確保水或清潔液無法進入后處理
系統。 如果清潔液進入后處理系統,可能出現損壞。
i06565678
發動機空氣濾清器濾芯-更換
發動機空氣濾清器可能由原始設備制造商 (OEM) 提
供,遵循 OEM 關于拆卸和安裝空氣濾清器濾芯的說
明。
空氣濾清器的典型示例
圖 37
g00103777
典型保養指示器
觀察保養指示器。 發生以下情況之一時,空氣濾清器
濾芯就應被清潔或更換:
• 黃色膜片進入紅色區域。
• 紅色柱塞鎖定在可見位置。
測試保養指示器
保養指示器是重要裝置。
圖 36
g03896344
• 檢查復位是否靈活。 保養指示器應在少于 3 次按
典型示例
推的情況下復位。
• 發動機加速到發動機的額定轉速時,檢查黃芯的移
動情況。 黃色芯應在大致達到最大真空時鎖住。
1. 拆卸濾清器濾芯前,確保空氣濾清器體清潔。
2. 將端蓋 (1) 從體 (3) 上拆下。 將空氣濾清器濾芯從
體 (3) 上拆下,并廢棄濾清器濾芯。
如果保養指示器不燃油復位或黃色芯無法鎖定在最大
真空位置,應更換保養指示器。 如果新的保養指示器
也不能復位,則保養指示器的安裝孔可能有阻塞。
3. 確保空氣濾清器的內體清潔,無污物。 安裝新濾清
器濾芯。
This document has been printed from SPI2. NOT FOR RESALE
![]()
![]()
![]()

![]()
![]()

![]()
![]()
SCBU9075
61
保養章節
發動機空氣預濾器 - 檢查/清潔
如有必要,在嚴重多塵的環境下,保養指示器可能需
要頻繁更換。
i03018715
發動機機油油位 - 檢查
i02949338
發動機空氣預濾器 - 檢查/清潔
熱油和熱的部件可能會導致人員受傷。 不要讓熱的油
和部件接觸皮膚。
圖 39
g00110310
(Y) “” 加(ADD)標記。 (X) “” 滿(FULL)標記。
注意
在發動機停機時進行該保養。
圖 38
g01453058
典型的發動機空氣粗濾器
(1) 蝶形螺母
(2) 蓋
(3) 主體
1. 保持機油油位在油尺(1) 的 “加 (ADD)” 標記(Y) 和
“滿 (FULL)” 標記(X) 之間。 向曲軸箱加注油時,不
要超過 “滿(FULL)” 標記(X) 。
拆下翼形螺母(1) 和蓋(2) 。 檢查主體(3) 中是否有積
聚的灰塵和碎屑。 必要時清潔主體。
注意
當機油油位高于 “滿(FULL)” 標記時,操作發動機
會使曲軸浸入機油中。 曲軸浸入機油所產生的空氣
泡,會削弱機油的潤滑能力并導致功率損失。
清潔預濾器后,安裝蓋(2) 和翼形螺母(1) 。
注:當發動機工作在多塵應用環境下時,需要更為頻繁
的清潔。
2. 如有必要,取下加注口蓋,添加機油。 清潔機油濾
清器加注口蓋。 安裝機油加注口蓋。
i03018708
發動機安裝支座 - 檢查
i06565684
發動機機油和濾清器 - 更換
注:珀金斯可能不提供發動機支架。 更多有關發動機
支架和正確的螺栓扭矩信息,請參閱 OEM 資料。
檢查發動機安裝基座是否老化,螺栓扭矩是否正確。
發動機振動可能由以下情況引起:
熱油和熱的部件可能會導致人員受傷。 不要讓熱的油
和部件接觸皮膚。
• 發動機安裝不當
• 發動機安裝基座老化
• 發動機支架松動
注意
在檢驗、保養、測試、調整及維修產品時,務必留
心,確保液體盛裝在容器中。 在打開任何腔室或拆解
任何儲有液體的部件之前,要準備好用合適的容器收
集液體。
應更換有老化跡象的發動機安裝基座。 有關推薦的扭
矩,請參閱 OEM 資料。
按照本地法規和指令處置所有液體。
This document has been printed from SPI2. NOT FOR RESALE
![]()
![]()
![]()
![]()
![]()
![]()
![]()
![]()
![]()

![]()
![]()
![]()

![]()
![]()
![]()
62
SCBU9075
保養章節
發動機機油和濾清器 - 更換
注意
保持所有零件清潔無雜質。
雜質會造成快速磨損和縮短部件壽命。
發動機在冷態時不要放機油。 由于機油較冷,懸浮廢
物微粒沉淀在油底殼的底部, 廢物微粒不會隨冷機油
排出。 在發動機停機時放掉曲軸箱機油。 當機油仍
然溫熱時,放掉曲軸箱內的機油。 這種放油方法可使
懸浮在機油中的廢物微粒正確排出。
未能遵守本推薦步驟進行操作會造成廢物微粒隨新機
油在發動機潤滑系統中再循環。
排放發動機機油
待發動機在正常工作溫度下運轉后,使其停機。 采用
以下方法之一來放掉發動機曲軸箱機油:
• 如果發動機配備了放油閥,逆時針轉動放油閥旋鈕
以便放掉機油。 機油放凈之后,瞬時針旋轉放油
閥的旋鈕以便關閉放油閥。
• 如果發動機沒有配備放油閥,拆下機油放油塞以便
放掉機油。 機油排出后,應在清潔放油塞后將其
裝回。
圖 40
g03890458
3. 在新的機油濾清器密封件 (2) 上涂敷清潔的發動機
機油。
更換機油濾清器
注意
安裝前不要用機油充滿機油濾清器。 這些機油將不被
過濾并可能受到污染。 受到污染的機油會引起發動機
部件加速磨損或造成發動機損壞。
注意
珀金斯 機油濾清器是按照珀金斯 技術參數制造的。
使用珀金斯 未經推薦的機油濾清器可能造成發動機軸
承和曲軸等發動機部件嚴重損壞。這些嚴重的發動機
損壞由未經過濾的機油攜帶進入發動機潤滑系統的大
的廢物顆粒引起的。 只能使用珀金斯 推薦的機油濾
清器。
4. 安裝機油濾清器 (3) 。 用手擰緊機油濾清器。 不要
過分擰緊機油濾清器。
加注發動機曲軸箱
1. 使用適當的工具拆下機油濾清器。
2. 清潔機油冷卻器 (1) 的密封表面。
1. 拆下機油加注口蓋。 有關潤滑劑技術參數的更多資
料,請參閱操作和保養手冊。 向曲軸箱中加注正確
數量的機油。 有關加注容量的更多資料,請參閱操
作和保養手冊。
注意
如果配備了輔助機油濾清器系統或遠距離機油濾清器
系統,遵循原始設備制造商 (OEM)或濾清器制造商的
建議。 曲軸箱的機油加注過度或不足都有可能導致發
動機的損害。
注意
為防止曲軸軸瓦的損壞,在斷油情況下盤車起動發動
機。 這將在起動發動機之前將濾清器注滿。 發動機
盤車時間不要超過30秒鐘。
2. 起動發動機,然后以 “低怠速” 運轉發動機 2 分鐘。
執行此步驟是為了確保潤滑系統中有機油并且機油
濾清器內充滿機油。 檢查機油濾清器有無機油泄
漏。
3. 停止發動機并等待至少 10 分鐘,使機油流回集油
槽。
This document has been printed from SPI2. NOT FOR RESALE
![]()
![]()
![]()
![]()
![]()
![]()
![]()
![]()
![]()
![]()
![]()

![]()
![]()
SCBU9075
63
保養章節
發動機氣門間隙-檢查
圖 41
g00986928
典型示例
4. 拆下機油油位表,檢查油位。 保持機油油位在油位
表的 “MIN(加注)” 和 “MAX(滿)” 標記之間。
i06565667
發動機氣門間隙-檢查
圖 42
g03890559
進行該項保養時,確保發動機不會被起動。 不要使用
起動馬達帶動飛輪,以免造成人身傷害。
(1) 排氣再循環閥
(2) 連接管
(3) 冷卻器
熱的發動機零部件可能造成燙傷。 在測量/調整氣門
間隙前要等一定時間,讓發動機冷下來。
在拆下排氣再循環閥、連接管和冷卻器的情況下,使
用中性清潔劑清潔部件。 安裝前,必須干燥所有部
件。
注意
只有具有資質的維修人員才能執行此項保養。
有關拆卸和安裝部件的信息,請參閱拆解和裝配手
冊。
運行帶有錯誤氣門間隙的發動機將會降低發動機效
率,同時減少發動機部件的使用壽命。
清潔并安裝排氣再循環閥后,將需要連接電子維修工
具,以便復位定時器 。
建議將這項保養內容作為潤滑和預防性保養計劃的一
部分,這樣有助于延長發動機的使用壽命。 氣門間隙
保養對于保持發動機合規性非常重要。
確保發動機已停機,再測量氣門間隙。 當發動機冷機
時,可以檢查和調整發動機氣門間隙。
• 進氣門
• 排氣門
0.20 mm (0.8 inch)
0.20 mm (0.8 inch)
有關正確的調整順序,請參閱系統操作、測試和調整,
發動機氣門間隙 - 檢查/調整。
i06565661
排氣再循環閥 - 清潔
,在 3000 小時時,警告燈將工作,診斷代碼 5838-31
將激活,執行排氣再循環閥清潔。 如果沒有在大約
100 小時內執行保養,發動機將減額。
將需要拆下和清潔排氣再循環閥連接管和冷卻器,以
便使發動機正常工作。
This document has been printed from SPI2. NOT FOR RESALE
![]()
![]()
![]()
![]()
![]()
![]()

![]()
![]()
![]()

![]()
![]()
64
SCBU9075
保養章節
風扇間隙 - 檢查
i06565692
確保所有的調整和修理由經過適當培訓的授權人員來
執行。
風扇間隙 - 檢查
注意
持續盤車不要超過30秒。 再次盤車前,讓起動馬達先
冷卻2分鐘。
如果空氣進入燃油系統,在起動發動機前,必須排除
燃油系統的空氣。 發生以下事件時,空氣可能會進入
燃油系統:
• 燃油箱排空或燃油箱部分排放。
• 斷開低壓燃油管。
• 低壓燃油系統存在泄漏。
• 更換燃油濾清器。
按照下列步驟,排出燃油系統中的空氣:
圖 43
g03309719
典型示例
圖 44
g03891128
典型示例
確保發動機停轉。 確保蓄電池斷路開關處于斷開位
置。 確保冷卻系統注滿。
1. 確保燃油箱加滿,且任何燃油閥(如有配備)處于
“接通” 位置。
風扇罩 (2) 和風扇 (1) 之間的間隙需要檢查。 必須在
四個間距相等的位置對風扇罩邊緣和風扇葉片 (A) 末
端之間的間距進行檢查。
2. 如果應用具有重力供油系統,擰松通風螺釘 (1) ,
使燃油流動。 當從通風螺釘流出的燃油沒有空氣
時,用手擰緊通風螺釘 (1) 。 如果燃油系統不是重
力供油系統,則轉至步驟 3。
• (A) 等于 5 mm (0.19685 inch)(三缸發動機或四缸
自然吸氣式發動機)
• (A) 等于 10 mm (0.39370 inch)(渦輪增壓式發動
機)
注:風扇罩不可調整。
i06565680
燃油系統 - 充油
注:有關在所有燃油系統工作期間必須遵循的清潔度標
準的詳細信息,請參閱系統操作、測試和調整, 燃油
系統部件清潔度。
This document has been printed from SPI2. NOT FOR RESALE
![]()
![]()
![]()

![]()
![]()

![]()
![]()
SCBU9075
65
保養章節
燃油系統粗濾器(油水分離器)濾芯 - 更換
i06565654
燃油系統粗濾器(油水分離器)濾芯
- 更換
滲漏或濺溢到熱表面或電氣部件上的燃油會引起失
火。 為防止可能的傷害,當更換燃油濾清器或油水分
離器濾芯時,要將起動開關斷開。 應立即將濺溢的燃
油清除干凈。
注:有關在所有燃油系統工作期間必須遵循的清潔度標
準的詳細信息,請參閱系統操作、測試和調整, 燃油
系統部件清潔度。
注意
確保在進行任何維護和修理工作之前關閉發動機。
圖 45
g03891159
典型示例
拆下濾芯。
3. 松開燃油細濾器上的通風螺釘 (2) 。 將鑰匙開關轉
到 “RUN(運轉)” 位置。
1. 進行本保養之前應先將燃油供應閥(如有配備)轉
到 OFF(斷開)位置。
4. 鑰匙開關將允許電動充油泵操作。 當從通風螺釘
(2) 流出的燃油沒有空氣時,擰緊通風螺釘至扭矩
為 24 N·m (212. lb in)。 然后,操作電動充油泵 2
分鐘。
2. 在油水分離器下面放置一個合適的容器,以便盛接
所有可能溢出的燃油。 清除所有溢出的燃油。 清
潔濾清器組件的外殼體。
5. 把鑰匙開關轉到 “斷開” 位置。 此時,燃油系統應
開始注油,發動機應能夠起動。
6. 操作發動機起動馬達并拖動發動機。 在發動機起動
后,以低怠速運轉發動機至少 5 分鐘。 對于恒速
發動機,不要施加負載 5 分鐘。
注:在此期間操作發動機將有助于確保燃油系統中沒有
空氣。不要松開高壓燃油管來排放燃油系統中的空
氣。 該步驟并不是必需的。
7. 確保燃油系統無泄漏。
發動機停機后,在對發動機的燃油管進行任何維修或
修理之前,必須等待 10 分鐘以便釋放高壓燃油管中
的燃油壓力。 等待 10 分鐘也將使低壓燃油系統的靜
態充油耗散。 如有必要,進行小的調整。 修理低壓
燃油系統以及冷卻、潤滑或空氣系統的任何泄漏。 修
理任何泄漏的高壓燃油管。 請參考拆解和組裝手冊,
燃油噴油管 - 安裝。
如果您檢查正在運行的發動機,請始終使用正確的檢
查步驟以避免液體穿透危險。 請參考操作和保養手
冊, 一般危險信息。
如果發動機不起動,請參閱故障診斷與排除, 發動機
盤車但不起動。
This document has been printed from SPI2. NOT FOR RESALE
![]()
![]()
![]()
![]()

![]()
![]()
![]()
66
SCBU9075
保養章節
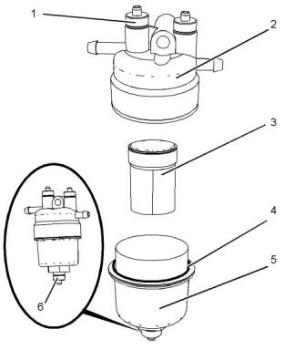
燃油系統粗濾器/油水分離器 - 放水
10. 細濾器濾芯必須與粗濾器濾芯同時更換。 參閱操
作和保養手冊, 燃油系統濾清器 - 更換。
i06565657
燃油系統粗濾器/油水分離器 - 放
水
滲漏或濺溢到熱表面或電氣部件上的燃油會引起失
火。 為防止可能的傷害,當更換燃油濾清器或油水分
離器濾芯時,要將起動開關斷開。 應立即將濺溢的燃
油清除干凈。
注意
油水分離器不是一個濾清器。 油水分離器將水從燃油
中分離出來。 決不允許在油水分離器中的水位過半時
運轉發動機。 可能導致發動機嚴重損壞。
圖 46
g03891253
3. 打開排放閥 (6) ,然后打開通風螺釘 (1) ,并排放
濾清器。 關閉排放螺釘和通風螺釘。 只靠手的壓
力擰緊排放螺釘和通風螺釘。
4. 將濾清器油杯 (5) 從濾清器 (2) 上拆下,然后將濾
清器濾芯 (3) 從濾清器 (2) 上拆下。 廢棄濾清器濾
芯 (3) 。
5. 拆下 O 形密封圈 (4) 并廢棄 O 形密封圈 (4) 。
6. 確保所有部件清潔干燥。
7. 安裝新的 O 形密封圈 (4) ,然后安裝新的濾清器濾
芯 (3) 。
8. 將濾清器油杯 (5) 安裝到濾清器 (2) ,并將濾清器
油杯擰緊至扭矩為 10 N·m (88 lb in)。
圖 47
g01316965
典型示例
9. 如有必要,打開燃油供應閥。 移開容器,在安全的
位置處理燃油。
1. 打開排放口 (1) 。 用適當的容器盛接放掉的油液。
正確處置放出的液體。
2. 只靠手的壓力關閉排放閥 (1) 。
此外,排放燃油細濾器中的水。 請參閱本操作和保養
手冊燃油系統細濾器/油水分離器 - 排放了解更多信
息。
注意
油水分離器在發動機正常運行時處于負壓狀態。 確保
排放口被牢固擰緊以便防止空氣進入燃油系統中。
This document has been printed from SPI2. NOT FOR RESALE
![]()
![]()
![]()
![]()
![]()
![]()

![]()
![]()
![]()

![]()
![]()
SCBU9075
67
保養章節
燃油系統細濾清器 - 更換
i06565679
燃油系統細濾清器 - 更換
滲漏或濺溢到熱表面或電氣部件上的燃油會引起失
火。 為防止可能的傷害,當更換燃油濾清器或油水分
離器濾芯時,要將起動開關斷開。 應立即將濺溢的燃
油清除干凈。
注意
確保在進行任何維護和修理工作之前關閉發動機。
有關在所有燃油系統工作期間必須遵循的清潔度標準
的詳細信息,請參閱系統操作、測試和調整, 燃油系
統部件清潔度。
拆下濾清器濾芯
1. 進行本保養之前應先將燃油供應閥(如有配備)轉
到 OFF(斷開)位置。
2. 在燃油濾清器下面放置一個合適的容器,以便盛接
所有可能溢出的燃油。 清除所有溢出的燃油。 清
潔濾清器組件的外殼體。
圖 48
g03891817
3. 打開排放閥 (6) ,如有必要,打開通風螺釘 (1) 。
讓燃油從濾清器中排出。 牢固擰緊通風螺釘 (1) ,
并關閉排放閥 (6) 。
4. 使用合適的帶式扳手將濾清器油杯 (5) 從濾清器底
座 (2) 上拆下。
5. 拆下并廢棄濾清器濾芯 (3) 。 將 O 形密封圈 (4) 從
濾清器油杯 (5) 上拆下。 棄置舊的 O 形密封圈。
6. 確保濾清器油杯 (5) 清潔無污垢。
安裝濾清器濾芯
1. 在濾清器底座 (2) 中安裝濾清器濾芯 (3) 。
2. 將新 O 形密封圈 (4) 安裝到濾清器油杯 (5) ,然后
將濾清器油杯 (5) 安裝到濾清器底座 (2) 。 不要使
用工具來安裝濾清器組件。 只靠手的壓力擰緊濾清
器油杯。
3. 將燃油供油閥(如有配備)轉到接通位置。
This document has been printed from SPI2. NOT FOR RESALE
![]()
![]()
![]()
![]()
![]()

![]()
![]()
68
SCBU9075
保養章節
燃油系統細濾器/油水分離器 - 放水
4. 燃油粗濾器和燃油細濾器必須同時更換。 充注燃油
系統,請參閱本操作和保養手冊, 燃油系統 - 充
注。
i04703151
燃油箱中的水和沉渣 - 排放
i06565670
燃油系統細濾器/油水分離器 - 放
水
注意
在檢查, 保養, 測試, 調整 and 維修發動機時,務必留
心,確保將溢出的液體盛裝在容器中。在打開任何腔
室或拆解任何儲有液體的部件之前,要準備好用合適
的容器收集液體。
按照本地法規和指令處置所有液體。
滲漏或濺溢到熱表面或電氣部件上的燃油會引起失
火。 為防止可能的傷害,當更換燃油濾清器或油水分
離器濾芯時,要將起動開關斷開。 應立即將濺溢的燃
油清除干凈。
燃油箱
燃油質量對發動機的性能和使用壽命至關重要。 燃油
中的水分可能導致燃油系統的過度磨損。
燃油箱加注燃油時會帶入水分。
燃油經加熱和冷卻后會發生水汽凝結。 燃油流過燃油
系統后回到燃油箱的過程中會發生水汽凝結。 這會導
致水在燃油箱中積聚。 定期排放燃油箱和從可靠來源
取得燃油有助于消除燃油中的水分。
排放水和沉淀物
燃油箱應該具備從燃油箱底部放掉水和沉淀物的裝
置。
打開燃油箱底部的放油閥以便放掉水和沉淀物。 關閉
排放閥。
每天檢查燃油。 向燃油箱加油后等待五分鐘,然后再
放掉燃油箱中的水和沉淀物。
等發動機運行后再向燃油箱加油,以便驅除油箱中的
潮濕空氣。 這樣有助于防止凝結。 向燃油箱加油
時,不要加到頂。 燃油變熱后膨脹。 油箱可能溢
流。
某些燃油箱使用補充管讓水和殘留物沉淀在供油管末
端的下部。 某些燃油箱的供油管直接從燃油箱底部取
油。 如果發動機配備了這種系統,定期保養燃油系統
濾清器相當重要。
圖 49
g06014499
典型示例
燃油儲油箱
1. 在濾清器下面放一適當的容器。 打開排放閥 (1) ,
讓油液排出。
按照以下周期放掉燃油儲油箱中的水和沉淀物。
2. 當需要時,只用手的壓力關閉排放閥 (1) 。
必須在排放燃油粗濾器時執行該步驟。 請參閱本操作
和保養手冊, 燃油系統粗濾器/油水分離器 - 排放了解
更多信息。
• 每周
• 保養周期
• 再加注燃油箱
這樣將有助于防止水和沉淀物被從儲油箱中泵吸進發
動機燃油箱中。
This document has been printed from SPI2. NOT FOR RESALE
![]()
![]()
![]()
![]()
![]()

![]()
![]()
SCBU9075
69
保養章節
軟管和卡箍 - 檢查/更換
如果大儲油箱剛被加過油或移動過,在向發動機加油
之前,留出足夠時間使儲油箱中的沉淀物沉積下來。
大儲油箱的內部隔板也將有助于截留沉淀物。 對從儲
油箱中泵出的燃油進行過濾有助于保證燃油質量。 如
有可能應使用油水分離器。
更換軟管和夾箍
更多有關拆卸和更換燃油軟管(如果裝備)的信息,
請參閱 OEM 資料。
下文描述了一種更換冷卻液軟管的常見方法。 更多有
關冷卻系統和冷卻系統軟管的信息,請參閱 OEM 資
料。
i03469458
軟管和卡箍 - 檢查/更換
加壓的系統: 熱的冷卻液能造成嚴重的燙傷。 在發
動機停機,等待冷卻系統部件冷卻下來后再打開冷卻
系統加注口蓋。 緩慢松開冷卻系統加注口蓋,以釋放
掉所有壓力。
接觸高壓燃油可能導致液體滲透和燒傷危險。 高壓燃
油溢出可能會產生火災。 如果不遵循檢查、保養和維
修指南,可能會造成人身傷亡。
1. 使發動機停機。 讓發動機冷卻下來。
如果您檢查正在運行的發動機,請始終使用正確的檢
查步驟以避免液體穿透危險。 請參閱操作和保養手冊
, 一般危險信息 。
2. 緩慢地松開冷卻系統加注口蓋,以釋放掉所有壓
力。 拆下冷卻系統加注口蓋。
注:把冷卻液排放到適當、清潔的容器中。 此冷卻液
可以被再利用。
檢查所有軟管是否有由以下情況引起的滲漏:
• 破裂
• 軟化
3. 從冷卻系統中排放部分冷卻液,使冷卻液液位低于
要更換的軟管。
4. 拆去軟管的卡箍。
• 夾箍松脫
5. 拆開舊軟管。
更換破裂或軟化的軟管。 擰緊任何松動的夾箍。
檢查下列情況:
6. 用新軟管更換損壞的軟管。
7. 用一把扭力扳手安裝軟管卡箍。
• 管端接頭有損壞或滲漏
• 外覆層有磨損或割傷
注:有關正確冷卻液的信息,請參閱 操作與保養手冊,
油液建議 。
• 用于加強的金屬絲暴露在外
• 外覆層局部隆起鼓包
8. 重新加注冷卻系統。 有關重新加注冷卻系統的更多
信息,請參閱 OEM 資料。
9. 清潔冷卻系統加注口蓋。 檢查冷卻系統加注口蓋的
密封件。 如果密封圈損壞,更換冷卻系統加注口
蓋。 安裝冷卻系統加注口蓋。
• 軟管的柔性部分扭結或擠壓
• 鎧裝護套嵌入外覆層
在所有使用標準軟管夾的地方,都可以使用恒定扭矩
軟管夾。 確保恒定扭矩軟管夾箍與標準夾箍尺寸相
同。
10. 起動發動機。 檢查冷卻系統是否滲漏。
i03018579
軟管由于溫度劇烈變化將會硬化。 軟管硬化將會引起
軟管卡箍變松。 可能因此而導致泄漏。 恒定扭矩軟
管夾箍將有助于防止軟管夾箍松動。
散熱器 - 清潔
每次安裝使用可能有區別。 不同之處取決于下面因
素:
珀金斯通常不提供散熱器。下文記述了一個典型的散
熱器清潔步驟。更多有關清潔散熱器的信息,請參閱
OEM 資料。
• 軟管類型
• 接頭材料的類型
• 軟管的預期膨脹和收縮
• 接頭的預期膨脹和收縮
注:根據作業環境影響的情況調整清潔工作的頻率。
檢查散熱器的這些項目: 損壞的散熱片, 腐蝕, 污垢,
油脂, 昆蟲, 樹葉, 機油 和 其它碎屑. 必要時清潔散熱
器。
This document has been printed from SPI2. NOT FOR RESALE
![]()
![]()
![]()
![]()
![]()
70
SCBU9075
保養章節
起動馬達 - 檢查
有關更多信息,請參閱系統操作測試和調整, 進氣和
排氣系統 - 檢查和廢氣旁通閥 - 測試。
高壓空氣會造成人身傷害。
i06565674
不按下面的適當步驟進行操作會造成人身傷害。 使用
壓縮空氣時,戴防護面罩及穿防護服。
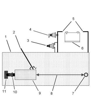
圍繞檢查
用做清洗用途時,噴嘴處最大空氣壓力必須低于
205 kPa (30 psi) 。
序列號: ER11–以上
壓縮空氣是清除松動碎屑的首選方法。 將壓縮空氣對
著與風扇氣流相反的方向吹。 將噴嘴保持在距散熱片
大約 6 mm (0.25 in) 遠的地方。 在與散熱器管組件平
行的方向緩慢移動空氣噴嘴。 這將清除在管道之間的
碎屑。
檢查發動機是否滲漏,連接處是否松
動
繞行檢查只需花費幾分鐘。 花費一點時間進行這些檢
查,可以避免昂貴的修理和事故。
加壓水也可用于清洗。 清洗用的最大水壓必須低于
275 kPa (40 psi)。 用高壓水來使污泥軟化。 從兩側
清潔芯。
為了使發動機獲得最長的使用壽命,在起動發動機之
前要對發動機室進行一次徹底檢查。 查看有無以下項
目:機油泄漏或冷卻液泄漏、螺栓松動、傳動帶磨
損、連接松動和垃圾堆積。 根據需要進行修理。
用去油劑和蒸汽來清除機油和潤滑脂。 清潔芯的兩
端。 用去污劑和熱水沖洗芯。 用干清水徹底漂洗
芯。
• 護罩必須安裝到位。 修理損壞的防護罩或更換丟
失的防護罩。
如果散熱器內部被堵塞,請參閱 OEM 手冊中關于沖
洗冷卻系統的信息。
散熱器清潔完畢后,起動發動機。 讓發動機低怠速運
行三至五分鐘。 提高發動機轉速至高怠速。 這有助
于清除碎屑和干燥芯。 緩慢降低發動機速度至低怠
速,然后停止發動機。在散熱器芯后面放一個燈泡來
檢查芯是否清潔。 必要時再次清潔。
• 維修發動機前先擦拭所有的罩蓋和塞堵,以減少系
統污染的機會。
注意
擦拭掉任何種類的滲漏液體(冷卻液、潤滑油或燃
油)。 如果觀察到滲漏情況,要找出泄漏的原因并解
決。 如果懷疑有滲漏,應比推薦次數更為頻繁地檢查
液位,直到找到或修好滲漏,或直到不再懷疑有滲
漏。
檢查散熱片有無損壞。 彎曲了的散熱片可用一把“梳
刀”梳開。 檢查這些項目是否處于良好狀態: 焊接處,
安裝支架, 空氣管路, 連接處, 卡箍 和 密封件. 必要時
進行修理。
i03018695
注意
起動馬達 - 檢查
積聚在發動機上的潤滑脂和 /或機油有失火危險。 清
除積聚的潤滑脂和機油。 有關更多的資料,請參閱操
作和保養手冊, 發動機 - 清潔。
珀金斯建議定期檢查起動馬達。 如果起動馬達發生故
障,發動機在緊急情況下就無法起動。
• 確保冷卻系統軟管夾緊正確,連接緊密。 檢查有
無泄漏。 檢查所有管路的狀況。
檢查起動馬達是否正常工作。 檢查和清潔電氣連接。
請參閱系統運作、測試和調整手冊, 電起動系統 - 測試
以獲得更多有關檢查步驟和技術參數的信息,也可向
您的珀金斯代理商或珀金斯分銷商尋求幫助。
• 檢查水泵是否有冷卻液泄漏。
冷卻液過量滲漏說明需要更換水泵。 拆下水泵。 請
參閱拆解和裝配, 水泵 - 拆卸和安裝。
i06565688
• 檢查潤滑系統中是否在曲軸前油封、曲軸后油封、
油底殼、機油濾清器和搖臂室蓋處有滲漏。
渦輪增壓器 - 檢查
• 檢查進氣系統的管道和彎頭有無裂紋,卡箍是否松
動。 確保軟管和管不與其它軟管、管和線束接
觸。
序列號: ER11–以上
推薦對渦輪增壓器進行定期目視檢查。 任何來自曲軸
箱的煙霧都通過進氣系統過濾。 因此,從機油中來的
和燃燒后產生的副產品可能聚集在渦輪增壓器壓縮機
殼體。 時間一長,這些積聚物可能會導致發動機功率
損失、黑煙增多和發動機的整體效率降低。
• 確保旋轉零件的周圍區域無障礙物。
• 檢查交流發電機皮帶和所有附件驅動皮帶有無裂
紋、斷裂或其它損壞。
如果發動機運轉時渦輪增壓器損壞,則會損壞渦輪增
壓器壓縮機葉輪和/或發動機。 渦輪增壓器壓縮機葉
輪的損壞可能導致活塞、氣門和缸蓋的損壞。
• 檢查導線線束是否損壞。
This document has been printed from SPI2. NOT FOR RESALE
![]()
![]()
![]()
![]()
![]()
![]()
![]()
SCBU9075
71
保養章節
水泵 - 檢查
多槽皮帶輪的皮帶必須成套更換。 如果只更換一根皮
帶,則這根皮帶就會比其它沒更換的皮帶承受更大的
負荷。 因為原來的皮帶已被拉長。 額外負載就會加
到新皮帶上,從而造成皮帶斷裂。
注:水泵密封由冷卻系統的冷卻液來潤滑。 當發動機
降溫而零件收縮時,有少量滲漏發生是正常的。
目視檢查水泵是否滲漏。 如果有過多的冷卻液滲漏,
更換水泵密封或水泵。有關拆解和組裝步驟,請參閱
拆解和組裝手冊, 水泵 - 拆卸和安裝。
高壓燃油管
接觸高壓燃油可能導致液體滲透和燒傷危險。 高壓燃
油溢出可能會產生火災。 如果不遵循檢查、保養和維
修指南,可能會造成人身傷亡。
發動機停機后,在進行任何維修或修理之前,等待 10
分鐘以便釋放高壓燃油管中的燃油壓力。 等待 10 分
鐘也將使低壓燃油系統的靜態充油耗散。 如有必要,
進行小的調整。 修理低壓燃油系統以及冷卻、潤滑或
空氣系統的任何泄漏。 修理任何泄漏的高壓燃油管。
請參考拆解和組裝手冊, 燃油噴油管 - 安裝。
如果您檢查正在運行的發動機,請始終使用正確的檢
查步驟以避免液體穿透危險。 請參考操作和保養手
冊, 一般危險信息。
目視檢查高壓燃油管路有無損壞或者燃油泄漏跡象。
更換所有受損的高壓燃油管路或者出現泄漏的高壓燃
油管路。
確保高壓燃油管路上的所有夾子就位并且夾子無松
動。
• 檢查剩余燃油系統是否泄漏。 查找松動的燃油輸
油管卡箍。
• 每日排放燃油箱中的水和沉積物。
• 檢查線路和導線線束是否有連接處松動,導線是否
磨損或擦傷。 檢查系帶是否有松動或缺失。
• 檢查接地母線連接和狀況是否良好。
• 斷開所有無法防護起動馬達的吸耗電流的蓄電池充
電裝置。 除非發動機裝的是免維護蓄電池,否則
要檢查蓄電池的狀況和電解液液位。
• 檢查儀表的狀況。 更換破裂的儀表。 更換所有不
能被校準的儀表。
發動機后處理系統
檢查所有卡箍、夾子和系帶是否牢固且狀況良好。
i03018580
水泵 - 檢查
失效的水泵可能引起嚴重的發動機過熱問題,進而導
致以下情況:
• 缸蓋裂紋
• 活塞咬缸
• 其它對發動機的潛在損害
This document has been printed from SPI2. NOT FOR RESALE
![]()
![]()
![]()
72
SCBU9075
保修部分
保修信息資料
保修部分
保修信息資料
i06245661
排放保修信息
認證發動機制造商向最終采購方和所有后續采購方擔
保:
1. 在美國和加拿大運行和使用、單缸排量小于 10 升
(包括小于 37 kW 的 Tier 1 和 Tier 2 船用發動
機,但不包括機車用和其他船用發動機)的新生產
非公路柴油發動機和固定式柴油發動機,包括其排
放控制系統的所有零件(“排放相關部件”),均:
a.
自銷售之日起,其設計、建造和裝配滿足美國
環境保護署(EPA)以法規形式規定的相關排
放標準的要求。
b.
在保修期內,排放相關部件在材質和制造工藝
方面,不存在可能導致發動機違反相關排放標
準規定的缺陷。
2. 在加利福尼亞州運行和使用的新生產非公路柴油發
動機(包括小于 37 kW 的 Tier 1 和 Tier 2 船用推
進發動機及小于 37 kW 的 Tier 1 至 Tier 4 船用輔
助發動機,但不包括機車用和其他船用發動機),
包括其排放控制系統的所有零件(“排放相關部
件”),均:
a.
自銷售之日起,其設計、建造和裝配滿足加州
空氣資源局(ARB)規定的所有相關法規的要
求。
b.
在保修期內,不存在材料和工藝方面的缺陷,
不會導致排放相關的部件出現發動機制造商認
證申請中所描述的材料失效類型。
只要遵守規定的保養要求,可預期后處理系統在發動
機使用壽命(排放設備耐用期)內正常工作。
在 Perkins. com 維修和支持網站可以查看關于排放控
制保修的詳細說明。
This document has been printed from SPI2. NOT FOR RESALE
![]()
SCBU9075
73
參考資料部分
參考資料
參考資料部分
參考資料
i05331382
發動機保護計劃
(延期維修合同)
延期維修合同 - 即刻購買,多年保護
延期維修合同 (ESC) 讓您不必再為意外的修理工作煩
惱,因為它已經涵蓋了讓您的發動機重新正常運轉所
需的費用。 與其它延期保修不同,Perkins 白金 ESC
讓您免受任何部件和零件故障困擾。
每日成本只需 £0.03 / $0.05 / euro 0.04 即可高枕無
憂,ESC 讓您夢想成真。
為什么要購買延期維修合同?
1. 不要吃驚 - 對意外維修事件的總體解決(零件、人
工和旅費)。
2. 享有 Perkins 全球網絡提供的長期產品支持。
3. 原裝 Perkins 零件確保始終如一的發動機性能。
4. 所由維修工作都由受過嚴格培訓的技師完成。
5. 如果出售機器,還可轉讓保修服務。
靈活的保修可為您的 Perkins 發動機提供正確水平的
保護。 保修可以延長到 2 年/ 1,000 小時乃至 10 年/
40,000 小時
您可以在標準保修期內隨時購買 ESC - 即使是最后一
天!
每家 Perkins 經銷商都有經過嚴格培訓且經驗豐富的
Perkins 產品支持服務技師。 全天候提供支持服務,
隨時候命讓您的發動機恢復正常工作,確保停機時間
最短。 購買 ESC 就意味著這些服務費用全免。
購買延期服務合同,快速便捷! 請立即聯系本地
Perkins 經銷商,他們會即刻為您提供報價。 您可以
訪問下面的網站以查找離您最近的 Perkins 經銷商:
www.perkins.com
注意
與發動機類型和應用無關。
This document has been printed from SPI2. NOT FOR RESALE
![]()
![]()
![]()
74
SCBU9075
索引部分
索引
一
加注.............................................................. 57
排放.............................................................. 56
冷卻液溫度調節器 -更換................................. 58
冷卻液延長劑(ELC)-添加........................... 57
冷卻液液位 -檢查............................................ 58
上、下設備 ...................................................... 13
一般危險信息..................................................... 8
盛裝泄漏的液體 ............................................. 9
適當地處置廢棄物........................................ 10
吸入.............................................................. 10
壓縮空氣和加壓水.......................................... 9
液體穿透 ........................................................ 9
用超低硫柴油加注時會出現靜電危害 ............ 9
凵
出現活動診斷編碼的發動機的運行.................. 30
出現間歇診斷編碼的發動機的運行.................. 30
亠
刀
產品識別信息資料 ........................................... 21
產品信息資料部分 ........................................... 18
交流發電機 -檢查............................................ 53
交流發電機和風扇皮帶 -更換.......................... 53
前言 ................................................................... 4
安全................................................................ 4
保養................................................................ 4
保養周期 ........................................................ 4
操作................................................................ 4
大修................................................................ 4
加利福尼亞州65號提案中的警告 ................... 4
文獻資料 ........................................................ 4
人
保修部分.......................................................... 72
保修信息資料................................................... 72
保養建議.......................................................... 49
保養章節.......................................................... 40
保養周期表 ...................................................... 52
每1000工作小時........................................... 52
每12000個工作小時數或每6年的保養 ......... 52
每2000工作小時........................................... 52
每3000個工作小時....................................... 52
每3000個工作小時或每2年.......................... 52
每4000工作小時........................................... 52
每500個工作小時的保養.............................. 52
每500個工作小時或1年................................ 52
每50個工作小時或每周一次的保養............ 52
每6000個工作小時或3年.............................. 52
每隔 1500工作小時的保養.......................... 52
每天的保養................................................... 52
試運轉.......................................................... 52
需要時即進行的保養.................................... 52
傳感器和電氣部件 ........................................... 27
儀表和指示燈................................................... 25
力
功能部件和控制裝置........................................ 25
加注容量.......................................................... 40
冷卻系統 ...................................................... 40
潤滑系統 ...................................................... 40
厶
參考資料.......................................................... 73
參考資料部分............................................. 22, 73
供參考用的檔案記錄.................................... 22
又
發動機 -清潔 ................................................... 59
后處理.......................................................... 60
發動機安裝支座 -檢查..................................... 61
發動機保護計劃 (延期維修合同)...................... 73
發動機電子裝置............................................... 16
發動機機油和濾清器 -更換 ............................. 61
更換機油濾清器 ........................................... 62
加注發動機曲軸箱........................................ 62
排放發動機機油 ........................................... 62
發動機機油油位 -檢查..................................... 61
發動機空氣濾清器保養指示器 -檢查............... 60
測試保養指示器 ........................................... 60
發動機空氣濾清器濾芯-更換......................... 60
冫
冷卻液 (DEAC) -更換...................................... 55
沖刷.............................................................. 56
加注.............................................................. 56
排放.............................................................. 55
冷卻液(ELC)-更換...................................... 56
沖刷.............................................................. 57
This document has been printed from SPI2. NOT FOR RESALE
![]()
75
SCBU9075
索引部分
空氣濾清器的典型示例 ................................ 60
環境因素 ...................................................... 50
發動機空氣預濾器 -檢查/清潔......................... 61
發動機起動 ................................................ 15, 31
起動發動機................................................... 31
發動機起動后................................................... 32
發動機起動前................................................... 31
發動機氣門間隙-檢查.................................... 63
發動機停機 ................................................ 15, 39
發動機停機后................................................... 39
發動機運行 ...................................................... 34
變速發動機................................................... 34
微粒排放物的減少........................................ 34
發動機診斷 ...................................................... 30
手
報警和關斷裝置............................................... 25
警報器.......................................................... 25
切斷裝置 ...................................................... 25
操作部分.......................................................... 23
排放保修信息................................................... 72
排放認證貼膜................................................... 21
排氣再循環閥 -清潔 ........................................ 63
攴
故障記錄.......................................................... 30
口
散熱器 -清潔 ................................................... 69
后處理操作 ...................................................... 35
后冷器芯 -檢查................................................ 53
曰
曲軸箱呼吸器(濾罐) -更換.......................... 58
囗
圍繞檢查.......................................................... 70
高壓燃油管................................................... 71
檢查發動機是否滲漏,連接處是否松動....... 70
木
標牌和貼膜的位置 ........................................... 21
序列號標牌................................................... 21
柴油微粒濾清器再生........................................ 35
概述 ................................................................. 18
機型視圖.......................................................... 18
土
在配備電子控制裝置的發動機上進行焊接....... 49
水
宀
水泵 -檢查....................................................... 71
渦輪增壓器 -檢查............................................ 70
油液建議.......................................................... 40
ELC冷卻系統保養....................................... 42
一般冷卻液信息 ........................................... 40
油液建議 (一般燃油資料)................................. 43
柴油特性 ...................................................... 46
柴油要求 ...................................................... 44
燃油清潔劑和 404F-E22工業用發動機 ....... 48
一般信息 ...................................................... 44
安全標志............................................................ 5
(1)通用警告 .............................................. 5
(2)手(高壓) ........................................... 6
乙醚警告 ........................................................ 7
安全部分............................................................ 5
寒冷天氣操作................................................... 36
發動機怠速運轉 ........................................... 37
發動機潤滑油粘度........................................ 36
寒冷天氣操作建議........................................ 36
冷卻液升溫建議 ........................................... 37
推薦使用的冷卻液........................................ 36
寒冷天氣起動................................................... 31
寒冷天氣下與燃油有關的部件......................... 38
燃油加熱器................................................... 38
燃油濾清器................................................... 38
燃油箱.......................................................... 38
火
燃油和寒冷天氣的影響.................................... 37
燃油省油準則................................................... 34
燃油系統 -充油................................................ 64
燃油系統粗濾器(油水分離器)濾芯 -更換......... 65
拆下濾芯。................................................... 65
心
燃油系統粗濾器/油水分離器 -放水 ................. 66
燃油系統細濾器/油水分離器 -放水 ................. 68
燃油系統細濾清器 -更換................................. 67
拆下濾清器濾芯 ........................................... 67
惡劣工作條件................................................... 50
不正確的保養程序........................................ 51
不正確的操作程序........................................ 50
This document has been printed from SPI2. NOT FOR RESALE
![]()
76
SCBU9075
索引部分
燃油箱中的水和沉渣 -排放 ............................. 68
排放水和沉淀物 ........................................... 68
燃油儲油箱................................................... 68
燃油箱.......................................................... 68
存放條件 ...................................................... 23
診斷燈.............................................................. 30
走
超速(OVERSPEED) ........................................ 27
起吊和貯存 ...................................................... 23
起動發動機前................................................... 15
起動馬達 -檢查................................................ 70
用
用跨接起動電纜起動 (不要在存在爆燃性空
氣的危險場所中使用本步驟).......................... 32
田
車
電氣系統.......................................................... 15
接地方法 ...................................................... 16
軟管和卡箍 -檢查/更換.................................... 69
更換軟管和夾箍 ........................................... 69
皮
酉
皮帶 -檢查/調整............................................... 54
調整.............................................................. 55
檢查.............................................................. 54
配置參數.......................................................... 30
釆
釋放系統壓力................................................... 49
發動機機油................................................... 49
冷卻液系統................................................... 49
燃油系統 ...................................................... 49
皿
監測系統.......................................................... 26
可編程設置的選項和系統操作 ..................... 26
監測系統 (發動機警告指示燈) ......................... 26
里
目
重要安全信息..................................................... 2
目錄 ................................................................... 3
阝
糸
防火與防爆 .......................................................11
管路、管道和軟管........................................ 13
滅火器.......................................................... 13
乙醚.............................................................. 13
防止燙傷.......................................................... 10
柴油...............................................................11
后處理系統....................................................11
機油...............................................................11
進氣系統 .......................................................11
冷卻液...........................................................11
蓄電池...........................................................11
防止壓傷和割傷............................................... 13
緊急停機.......................................................... 39
自
自診斷.............................................................. 30
艸
蓄電池 -更換 ................................................... 53
蓄電池電解液液位 -檢查................................. 54
蓄電池或蓄電池電纜 -斷開 ............................. 54
讠
風
設備描述.......................................................... 20
電控發動機特性 ........................................... 20
發動機診斷................................................... 20
使用壽命 ...................................................... 20
售后產品和 Perkins發動機......................... 20
設備起吊.......................................................... 23
設備貯存 (發動機和后處理)............................. 23
風扇間隙 -檢查................................................ 64
高
高壓燃油管 ...................................................... 13
This document has been printed from SPI2. NOT FOR RESALE
![]()
產品和代理商資料
注:關于產品識別標牌位置,請參閱《操作與保養手冊》的 “產品識別信息資料”部分。
交貨日期:
產品資料
型號:
產品識別號:
發動機序列號:
發動機序列號:
發電機序列號:
附件序列號:
附件資料:
用戶設備編號:
代理商設備編號:
代理商資料
名稱:
地址:
分公司:
代理商聯系人
電話號碼
辦公時間
銷售:
零件:
服務:
This document has been printed from SPI2. NOT FOR RESALE
![]()
![]()
![]()
![]()
![]()
![]()
![]()
![]()
![]()
![]()
![]()
![]()
![]()
![]()
![]()
![]()
![]()
![]()
![]()
![]()
![]()
![]()
![]()
![]()
![]()
SCBU9075
©2015 Perkins Engines Company Limited
所有
78
2015年12 月 月
This document has been printed from SPI2. NOT FOR RESALE