卡特CAT窗體底端
C15和C18發動機電子單體噴油器
|
表1 | |||
|
381-6298噴油泵總成和372-6468噴油泵總成的技術規格 | |||
|
項目 |
數量 |
零件 |
技術規格說明 |
|
1 |
1 |
8S-9191螺栓 |
擰緊至扭矩為 |
|
2 |
- |
- |
裝配前,使用按50/50比例混合的8T-2998潤滑劑和清潔的發動機機油潤滑O形密封圈和孔。 |
卡特CAT窗體底端
C15和C18發動機電子控制單體噴油器機構
窗體頂端
|
表1 | |||
|
190-0009燃油泵和氣門機構、148-7482燃油泵和氣門機構、128-8510燃油噴油器總成、130-9701燃油噴射泵總成、153-2875燃油噴油器總成、235-1401燃油噴射泵總成、297-1027燃油噴射泵總成、252-5786燃油噴射泵總成、253-8352燃油噴射泵總成、261-0048燃油噴射泵總成和235-1402燃油噴射泵總成的技術規格 | |||
|
項目 |
數量 |
零件 |
技術規格說明 |
|
安裝單體噴油器前,用按50/50比例混合的清潔發動機機油和8T-2998潤滑劑潤滑O形密封圈(5)。 | |||
|
1 |
1 |
- |
將鎖緊螺母擰緊至 |
|
2 |
1 |
- |
按照以下步驟擰緊螺栓: |
|
1.擰緊螺栓至 | |||
|
2.松開螺栓直到螺栓是用手擰緊的程度。 | |||
|
3.再次將螺栓擰緊至 | |||
|
A |
- |
- |
將單體噴油器的高度調整為 |
窗體底端
窗體頂端
窗體底端
窗體頂端
窗體底端

(4)隔套
(5)卡箍
表1266-3699燃油泵和氣門機構的技術規格項目數量零件技術規格說明安裝單體噴油器前,用按50/50比例混合的清潔發動機機油和8T-2998潤滑劑潤滑O形密封圈(6)。1--擰緊至扭矩為
2.50±0.25N·m(22.13±2.21lbin)。21196-5070防松螺母擰緊至扭矩為
100±10N·m(74±7lbft)。3-按照以下步驟擰緊螺栓:1.擰緊螺栓至
55±10N·m(41±7lbft)。2.松開螺栓直到螺栓是用手擰緊的程度。3.再次將螺栓擰緊至
55±10N·m(41±7lbft)。A--單體噴油器的高度是從正時底座起進行測量的。將單體噴油器的高度調整為
78.0±0.2mm(3.07±0.01in)。請參閱測試與調整,"電子單體噴油器-調整"以了解設置電子單體噴油器間隙的正確步驟。

表1294-7615噴油泵總成的技術規格項目數量零件技術規格說明118S-9191螺栓擰緊至扭矩為
55±10N·m(41±7lbft)。21230-3775O形密封圈用按50/50比例混合的綠色8T-2998潤滑劑和發動機機油稍微潤滑密封圈。31230-3728O形密封圈用按50/50比例混合的綠色8T-2998潤滑劑和發動機機油稍微潤滑密封圈。A--將單體噴油器的高度調整為
78.0±0.2mm(3.07±0.01in)。

表1372-6469噴油泵總成的技術規格項目數量零件技術規格說明118S-9191螺栓擰緊至扭矩為
55±10N·m(41±7lbft)。21230-3775O形密封圈用按50/50比例混合的綠色8T-2998潤滑劑和發動機機油稍微潤滑密封圈。31230-3728O形密封圈用按50/50比例混合的綠色8T-2998潤滑劑和發動機機油稍微潤滑密封圈。

|
371-8891噴油器總成 |
|
表2 | |||
|
項目 |
數量 |
零件 |
技術規格說明 |
|
4 |
1 |
333-4871彈簧 |
在測試力下的長度為 |
|
5 |
4 |
283-8654螺釘 |
擰緊至扭矩為 |
|
6 |
1 |
365-3386單體噴油器噴嘴 |
用VactraNo.2MSDS5380潤滑螺紋。 |
|
7 |
1 |
254-4379噴嘴彈簧 |
在測試力下的長度為 |

|
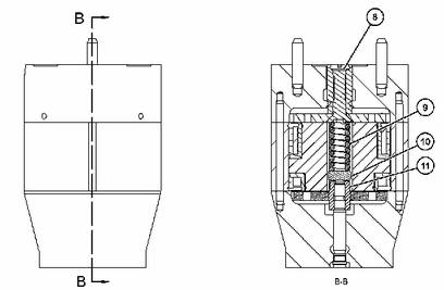
298-5517執行器組件 |
|
表3 | |||
|
項目 |
數量 |
零件 |
技術規格說明 |
|
8 |
1 |
421-5853平頭螺釘 |
在裝配前,將綠色Loctite290涂覆到螺紋上。 |
|
9 |
1 |
269-3183電磁閥彈簧 |
在測試力下的長度為 |
|
10 |
1 |
254-4376墊片 |
選擇墊片以提供 |
|
11 |
1 |
298-5534螺母 |
擰緊至扭矩為 |

|
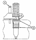
(2)搖臂 (3)搖臂軸 (4)挺桿總成軸 (5)單體噴油器挺桿組件 |
按照以下步驟調整單體噴油器:
松開鎖緊螺母(1)。 順時針旋轉調節螺釘。單體噴油器接合后停止旋轉調整螺釘。 順時針旋轉調節螺釘。旋轉...180度(1/2圈)
固定住調整螺釘。擰緊鎖緊螺母(1)。將鎖緊螺母擰緊至以下扭矩。...55±10N·m(41±7lbft)
重慶康明斯維修哪家好,美國康明斯維修哪家好,康明斯維修哪家好,進口康明斯維修哪家好,重慶康明斯發動機維修哪家好